led编带机教程

我的美篇
图片尺寸877x636
led编带机高速编带机3d图纸 非标自动化设备3d图纸3d素材
图片尺寸756x573
得力(deli) 自动号码机手动打码机编号打号器页码机6位日期可调数字
图片尺寸788x2891
28套编带机3d设备图纸led smt smd全自动高速编带机一体包装机图
图片尺寸800x800
28套编带机3d设备图纸ledsmtsmd自动高速编带机一体包装机械sw图
图片尺寸800x800
一种高精准全自动led编带机-爱企查
图片尺寸1752x1575
编带机3d设备图纸led高速全自动smd测试一体包装机solidworks模型
图片尺寸800x800
hglrczeusf760飞塔f722飞控60a四合一电调fpv穿越机架品质定制f72260a
图片尺寸680x1973
led自动编带机作业指导书 编带机转盘 编带机视频教程 编带机更换-度
图片尺寸720x1280
柔性编带机#高速编带机#led编带机
图片尺寸1080x810
兄弟牌打结机使用说明.docx
图片尺寸993x1404
供应ph-6h led 灯珠 切脚机探针 编带机 采用黄铜或高硬度sk4
图片尺寸800x800
led包装编带机 电子元器件编带机
图片尺寸960x1280
编带机编带机01smd-led全自动分光机smd-l ed全自动编带机
图片尺寸2000x1333
四线16703led幻彩灯带 断点续传可编程贴片高亮度ktv酒吧舞厅装饰
图片尺寸1000x2284
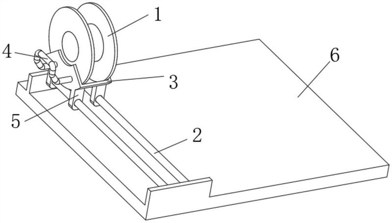
一种led灯用编带机-爱企查
图片尺寸800x456
wyk19871202
图片尺寸600x1067
khp-z带式输送机综合保护装置主机说明书.doc
图片尺寸792x1120
86全闭环高速伺服步进电机马达套装编码器驱动12.5n机身长181mm
图片尺寸750x1500
公司生产的半导体设备主要包括ic测试分选机,led测试分光机及编带机等
图片尺寸750x400