mems麦克风结构

mems麦克风的功能以及厂商市场分析介绍
图片尺寸526x311
动圈式麦克风( dynamic microphone )
图片尺寸750x456
敏芯股份高可靠性电容式mems麦克风在车载中的应用
图片尺寸1032x386
歌尔对敏芯的mems麦克风侵权诉讼失去权利主张基础
图片尺寸651x340
聚焦mems麦克风 其中到底有何玄奥
图片尺寸519x313![图 15 自旋-mems麦克风[106] (a) 原理图; (b) 版图结构
fig.](https://i.ecywang.com/upload/1/img2.baidu.com/it/u=1600955004,2590291857&fm=253&fmt=auto&app=138&f=JPEG?w=1634&h=500)
图 15 自旋-mems麦克风[106] (a) 原理图; (b) 版图结构
fig.
图片尺寸3346x1024
mems麦克风拓展高性能噪声测量应用声级计
图片尺寸692x385
mems麦克风将进入上升通道
图片尺寸938x368
驻极体电容式麦克风(咪头)结构
图片尺寸800x500
mems麦克风ppt
图片尺寸1080x810
mems麦克风封装示意图
图片尺寸1500x839
一种可调高低音和混响的麦克风
图片尺寸1891x1761
mems麦克风ppt
图片尺寸1080x810
超炫酷,高颜值,音王多用途录音电容麦克风jade让人欲罢不能
图片尺寸640x318
mems麦克风ppt
图片尺寸1080x810
ecm02vs02mems麦克风是否越新越好
图片尺寸933x532
内部大致结构如下图:特点:音质非常温柔,自然,对声波敏感度高.
图片尺寸900x750
mems麦克风结构及其制作方法与流程
图片尺寸1000x517
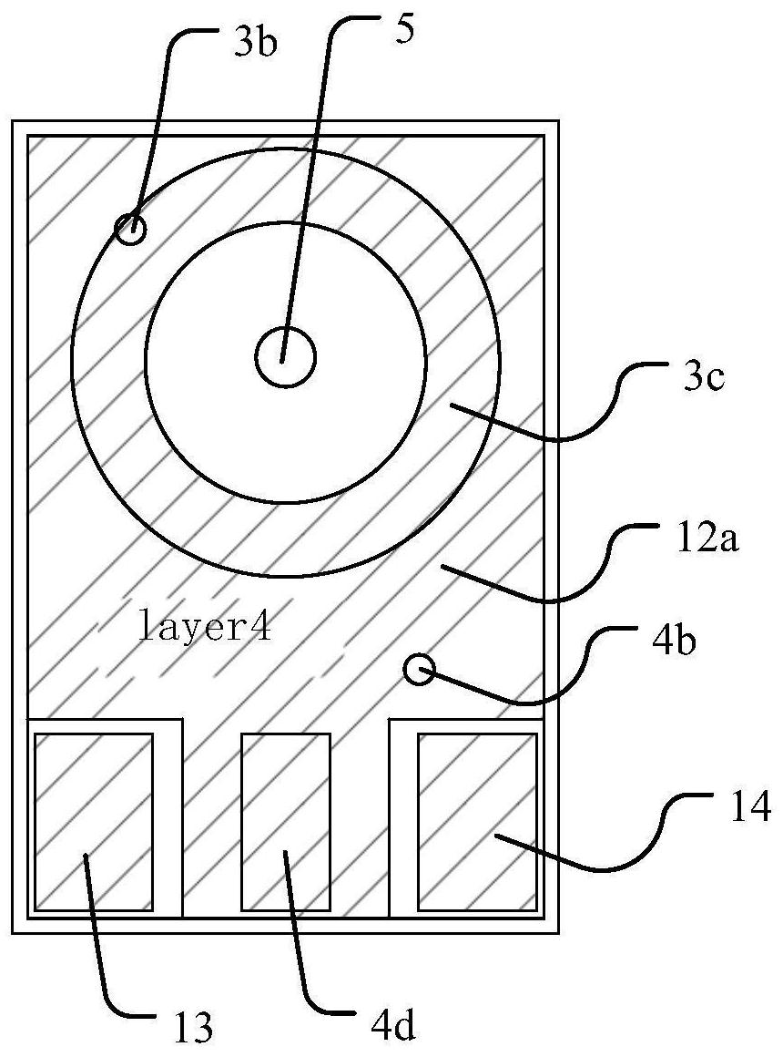
一种分体式mems麦克风封装结构
图片尺寸1000x648
mems麦克风结构-爱企查
图片尺寸860x1160