perambulator

adventures in a perambulator: the lake - ukraine national
图片尺寸1400x1400
有履带可以整活了喂之无限深远mm007地听雷达车lairperambulator拼装
图片尺寸4500x2812
rudyard kipling
图片尺寸600x846
beautiful perambulator | 图库照片 08 igor terekhov #1045443
图片尺寸680x1023
其中一款展品:steam locomotive perambulator
图片尺寸427x640
日历2016年9月与妇女和perambulator
图片尺寸923x1200
black perambulator,large wheels,old fashioned,old sewing machine
图片尺寸3648x2736
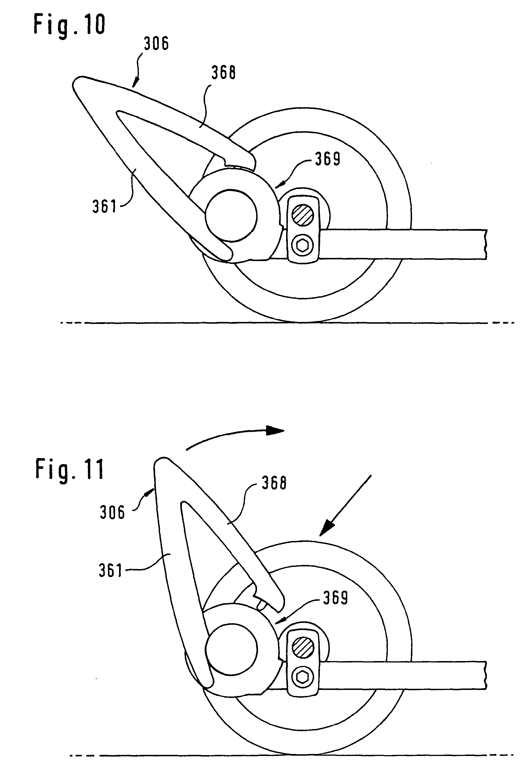
专利ep1155938a2 - perambulator - google 专利
图片尺寸1856x2742
调剂的perambulator
图片尺寸1200x800
帮他的金鱼马尔科姆设计了一台「水婴儿车」(aquatic perambulator)
图片尺寸550x450
【预订】how to push a perambulator: 50 lessons
图片尺寸518x800
perambulator图标符号优质隔离
图片尺寸1100x1100
平板图标mam一套父母mam perambulator和
图片尺寸1100x1100
please fold up and place perambulators properly | flickr – 相片
图片尺寸500x500
a victorian perambulator with painted wooden body
图片尺寸1205x904
ntwins perambulator; twins baby carriage;stroller ; twins baby
图片尺寸311x312
单词学习之词根ambul
图片尺寸1080x810
perambulator.
图片尺寸2320x3408
"无限深远"mm007【地听雷达车 lair perambulator】产品详情
图片尺寸1080x698
专辑简介 暂无简介
图片尺寸500x500