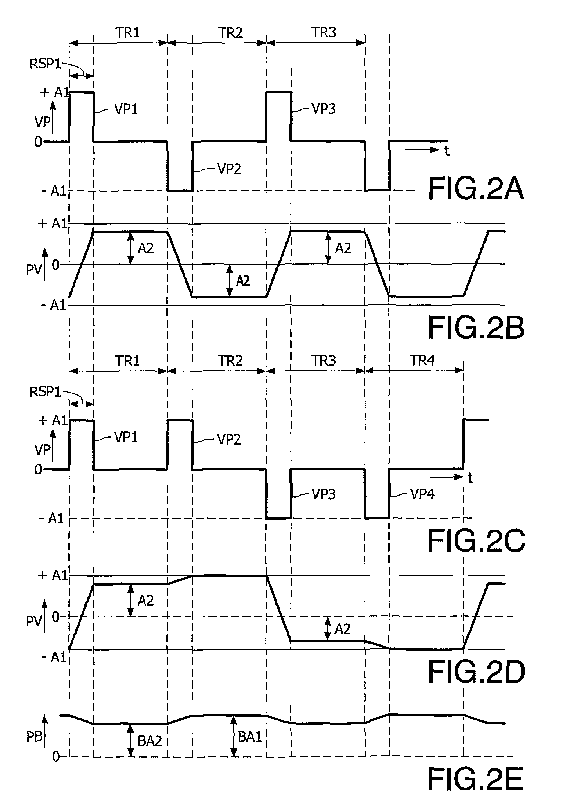
polarity inversion

improved polarity inversion scheme for a bistable nematic liquid
图片尺寸1856x1940
improved polarity inversion scheme for a bistable nematic liquid
图片尺寸1856x2192
creloxp重组系统
图片尺寸2438x1232
improved polarity inversion scheme for a bistable nematic liquid
图片尺寸1760x2684
improved polarity inversion scheme for a bistable nematic liquid
图片尺寸1760x2808
improved polarity inversion scheme for a bistable nematic liquid
图片尺寸1632x2768
wo2015000234a1_liquid crystal display panel polarity inversion
图片尺寸2258x1100
简述多晶硅耗尽效应
图片尺寸983x502
2.4.5 lane polarity inversion
图片尺寸493x255
improved polarity inversion scheme for a bistable nematic liquid
图片尺寸1728x2556
polarity inversion detection for an optical circuit switch
图片尺寸2790x1661
improved polarity inversion scheme for a bistable nematic liquid
图片尺寸1792x1616
英语中强调句相关知识
图片尺寸1080x540
improved polarity inversion scheme for a bistable nematic liquid
图片尺寸1440x2444
不同,常见的像素极性反转驱动方式有行反转驱动方式(row inversion)
图片尺寸1461x857
driving a display with a polarity inversion pattern
图片尺寸1907x2786
driving a display with a polarity inversion pattern
图片尺寸1967x2757
optical transceiver with polarity inversion
图片尺寸1851x2603
liquid crystal display apparatus with polarity inversion
图片尺寸1424x2030
optical transceiver with polarity inversion
图片尺寸1960x2308