shunt motor

shunt motor
图片尺寸461x276
formula ford shunt at castle combe motor racing circuit | flickr
图片尺寸500x347
shanghai goldgun r series gearmotor - buy gearmotor,helical gear
图片尺寸960x867
shunt-wound motor / dc / electrical / 200 v kg, kgi, kgo, og
图片尺寸640x380
甘肃首(开)"冰川旅游"(专)列 塑"铁路 旅(游)"新(产)品
图片尺寸1920x1080
dc shunt motors, shunt dc motors
图片尺寸300x300
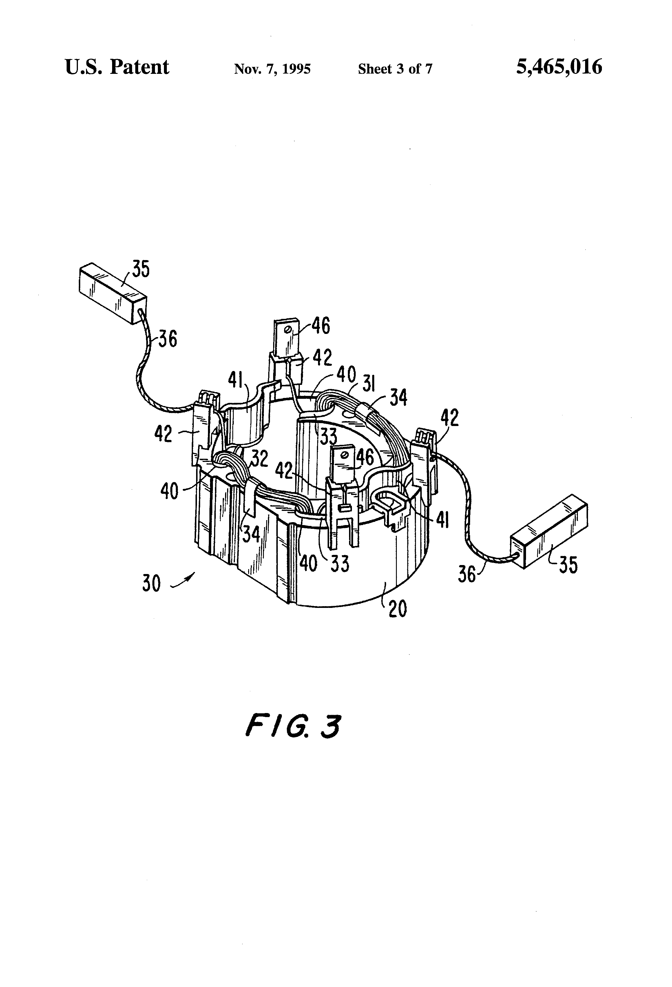
electric motor and brush/shunt assembly therefor
图片尺寸2320x3408
shunt motor
图片尺寸502x263
有关以下物品的详细资料: fx monster energy shroud
图片尺寸1100x733
mbk, scooter, stunt naked, stunt naked 2010, moto, motorcycles
图片尺寸1600x1000
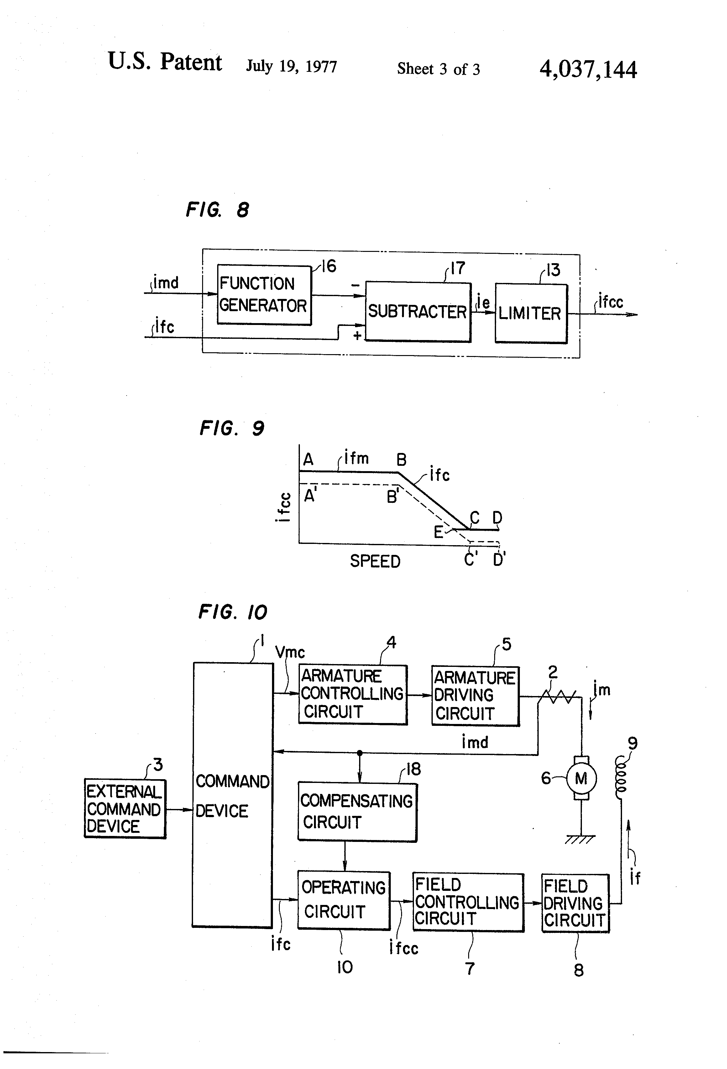
control device for use in shunt motor
图片尺寸2320x3408
high quality customized pmsm motor stator and rotor cores for
图片尺寸2000x1911
shunt motor
图片尺寸340x438
中国的电弹新技术很粗大很暴力
图片尺寸1080x608
flew the flag for renault after his teammate’s scary shunt
图片尺寸750x500
dc shunt motors, shunt dc motors
图片尺寸300x300
yamaha, super sport touring, mt-01, mt-january 2006, moto
图片尺寸1600x1000
dc motor / 4-pole / shunt-wound / electrical ca80
图片尺寸567x510
your search : #shunt
图片尺寸640x640
hot sale best price of bm1 hydraulic motor
图片尺寸2000x1577