solidworks链条怎么画

solidworks链条的画法
图片尺寸640x680
一种高性能防变形的链条
图片尺寸1661x718
solidworks链条的参数化设计,让你六分钟学会!
图片尺寸640x379
用solidworks绘制铁链
图片尺寸629x420
如何使用solidworks链阵列绘制链条
图片尺寸1728x1080
一种扣具用饰品链条
图片尺寸1209x1600
solidworks如何绘制链条solidworks链条如何装配
图片尺寸440x471
solidworks软件滚子链条3d图自动生成插件/宏程序/链条插件
图片尺寸1344x914
亦明图记:solidworks绘制铁链,使用曲线驱动的阵列命令建模
图片尺寸640x362
一种耳板式输送链条
图片尺寸1886x1913
万向输送链条制造技术
图片尺寸595x1000
solidworks如何绘制链条,solidworks链条如何装配?
图片尺寸580x480
solidworks链条的画法
图片尺寸640x423
链轮传动,非标播种机,链条装配体下载_solidworks模型_solidworks2020
图片尺寸802x719
静音防尘密封链条的制作方法
图片尺寸1000x766
一种带滚珠的滚动式防尘链条
图片尺寸1843x1360
求助请问solidworks如何画铁链
图片尺寸580x323
16a链条 画法模型下载_solidworks模型_solidworks2014三维模型
图片尺寸694x532
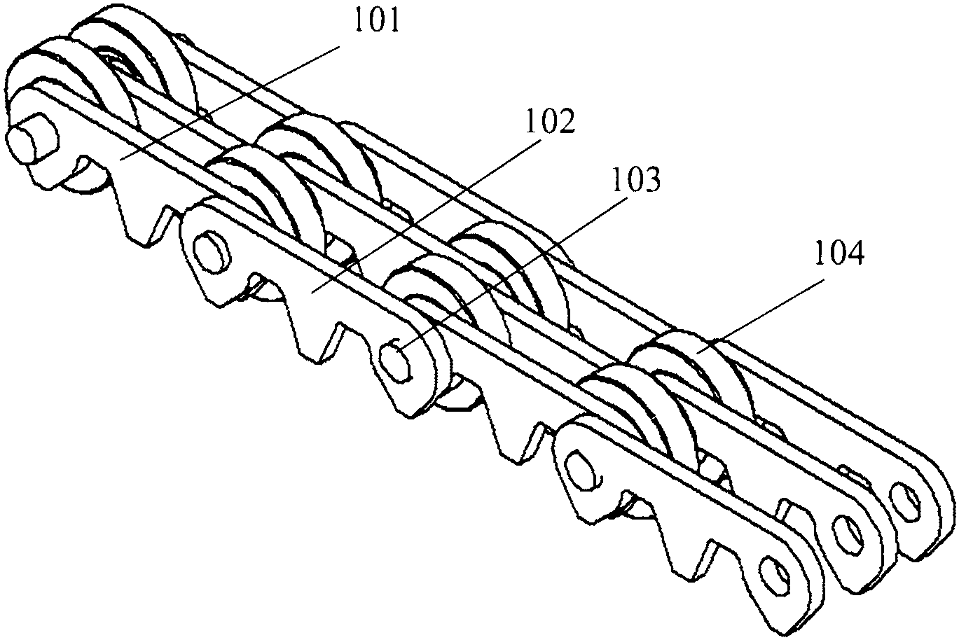
一种低摩擦阻力双节距齿形输送链条
图片尺寸1369x914
手把手教你sw如何装配链条
图片尺寸691x438