syntactic foam

low moisture absorption syntactic foam
图片尺寸1440x744
low moisture absorption syntactic foam
图片尺寸1088x1384
syntactic foam plugs
图片尺寸1690x1285
syntactic foam
图片尺寸500x361
syntactic foam plugs
图片尺寸1689x1078
syntactic foam compositions useful for manufacturing floating
图片尺寸2320x3408
polyurethane syntactic foam modeling stock
图片尺寸1779x1383
input, output, and negotiation of meaningppt
图片尺寸1080x810
a syntactic phenolic foam composition
图片尺寸848x342
low moisture absorption syntactic foam
图片尺寸1632x960
syntactic foam plugs
图片尺寸1689x724
来分级阅读研究的发展,蓝思阅读测评体系的算法标准已从 syntactic 和
图片尺寸807x538
fiber-reinforced syntactic foam composites and method of forming
图片尺寸1786x1153
syntacticstructures
图片尺寸404x600
fiber-reinforced syntactic foam composites and method of forming
图片尺寸1775x1053
fiber-reinforced syntactic foam composites and method of forming
图片尺寸1777x1107
epoxy-syntactic-foam-insulated metal pipes
图片尺寸1798x683![syntactic relations(句法关系)[一r]postional relation(位置关系)](https://i.ecywang.com/upload/1/img1.baidu.com/it/u=1641182092,2859071296&fm=253&fmt=auto&app=138&f=JPEG?w=500&h=666)
syntactic relations(句法关系)[一r]postional relation(位置关系)
图片尺寸1080x1439
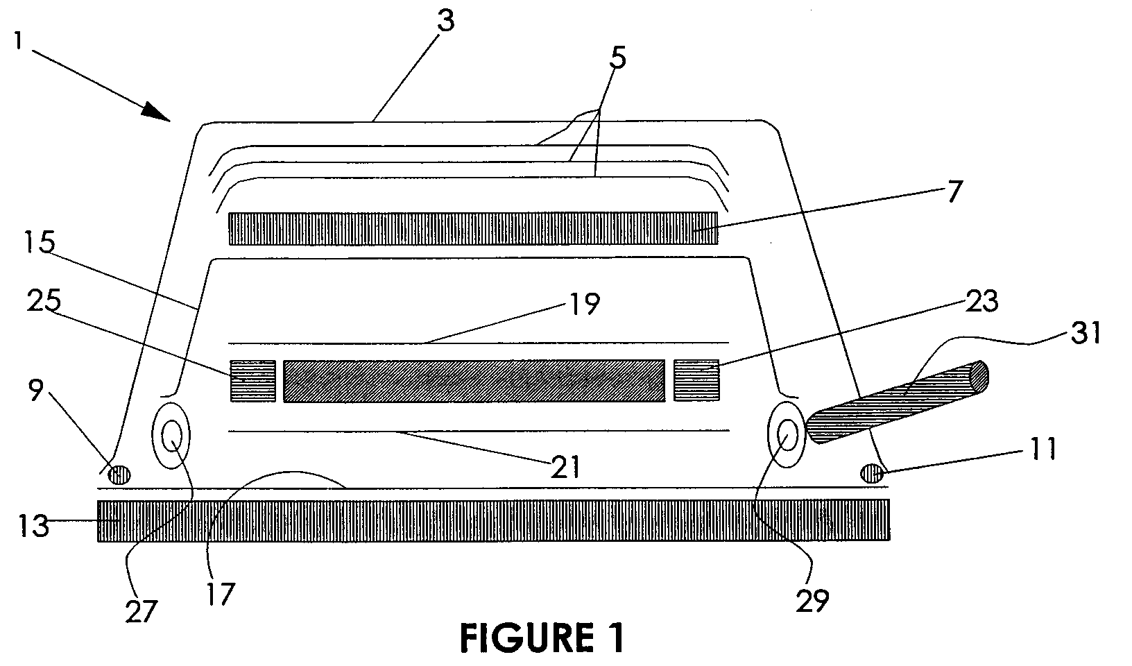
an improved syntactic foam composition and method for making
图片尺寸2082x758
diab divinycell hcp syntactic foam rov 673x294.jpg
图片尺寸673x294