u型槽三视图

u型挖斗-开沟挖水渠神器 你见过吗
图片尺寸640x497
预制u型槽施工图
图片尺寸423x381
u型槽构造图
图片尺寸560x420
u型槽渠道的砼方量怎么算
图片尺寸3264x2448
u型槽布置图
图片尺寸327x259
塑料u型槽排水图片
图片尺寸400x292
玻璃钢灌溉u形槽制造技术
图片尺寸1000x698
u型渡槽施工
图片尺寸610x432
一种u型预埋槽道
图片尺寸1055x960
u型边沟cad图
图片尺寸818x488
u型渡槽设计书
图片尺寸1200x1697
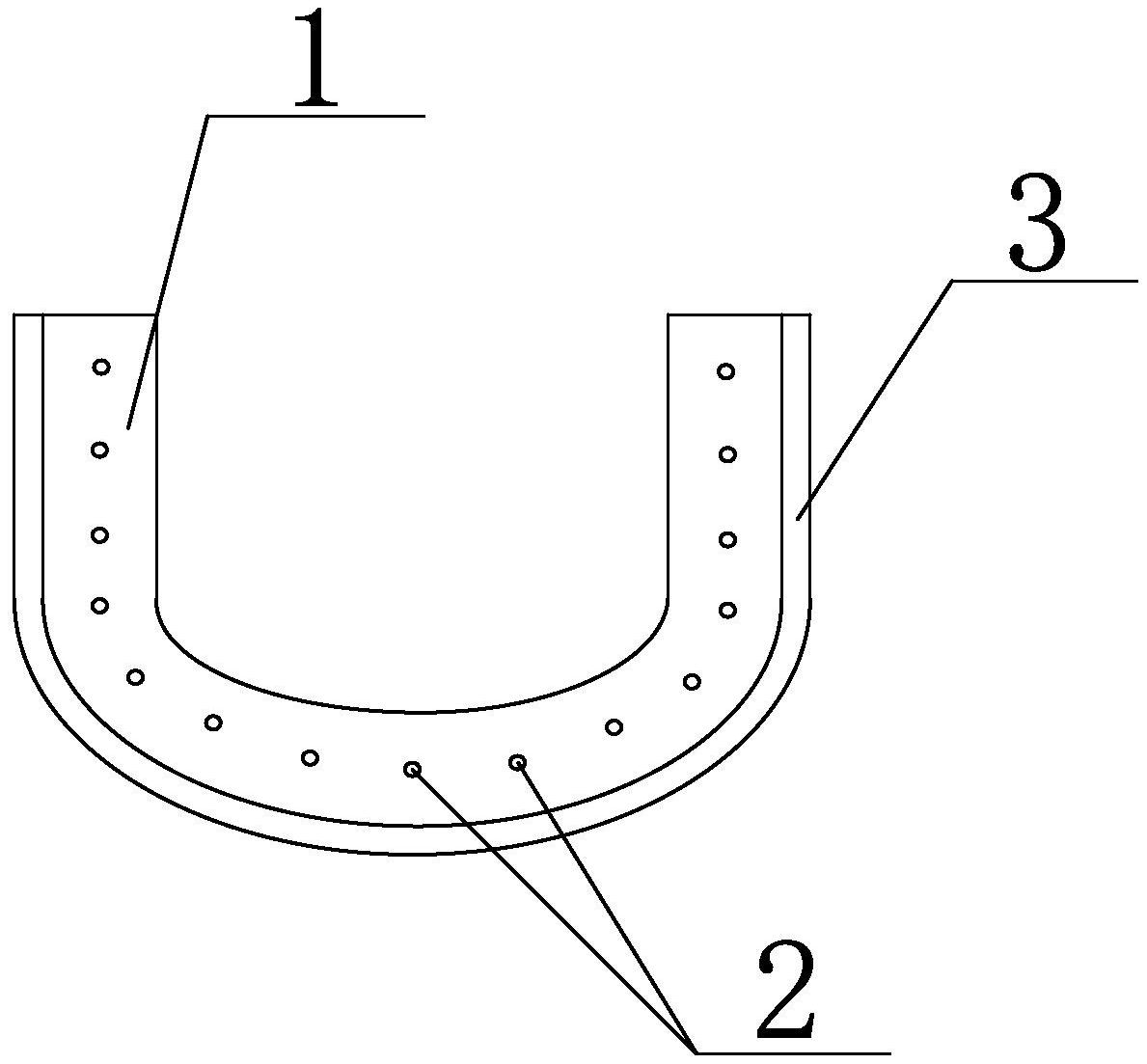
cn212271147u_预制装配式混凝土u型边沟有效
图片尺寸1189x1103
u型槽布置及结构设计图-图二u型槽布置及结构设计图-图三u型槽布置及
图片尺寸610x426
许营渡槽u型槽身墩式支撑设计
图片尺寸815x579
某处的灌区小型u型渡槽结构设计图纸
图片尺寸610x432
许营渡槽u型槽身墩式支撑设计
图片尺寸820x578
出水侧u型槽1纵剖面配筋图
图片尺寸753x515
u型桥台尺寸计算
图片尺寸529x907
u型槽结构配筋详图
图片尺寸610x432
线条灯灯槽嵌入式线形灯u型明装灯条led线性灯暗装铝合金灯带卡槽宽
图片尺寸790x1006