u形弯曲模具设计

模具 弯曲模装配图
图片尺寸830x645
u形支板弯曲模
图片尺寸530x478
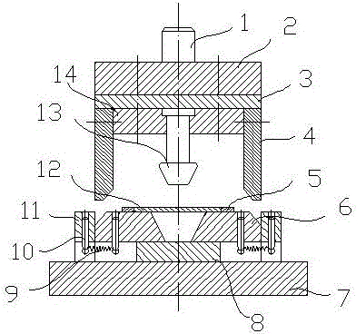
u形闭角弯曲模设计
图片尺寸951x699
cn201088990y_u形弯曲模失效
图片尺寸2055x2571
u形件弯曲成型模具的优化设计
图片尺寸1080x1766
冲压模具毕业设计通用u型弯曲件设计含cad图纸sw三维说明书
图片尺寸964x652
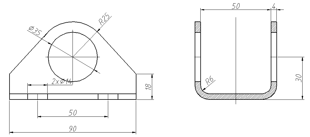
u型弯曲模设计
图片尺寸820x751
cm236-u形弯曲件弯曲模具设计u型冲压模具图纸
图片尺寸1043x460
通用u型弯曲件冷冲压模具设计 solidworks三维模型 cad图纸 说明书
图片尺寸291x218
u形弯曲模制造技术,折弯模具设计专利_技高网
图片尺寸2112x2589
一种u形弯曲模的设计
图片尺寸1517x2103
u形件的弯曲模具设计【三维图-爆炸图】
图片尺寸820x598
u形件闭角弯曲模具
图片尺寸820x443
u型件弯曲工艺及倒装复合模设计
图片尺寸820x601
a0-u型弯曲模.dwg
图片尺寸1200x800
u型弯曲模具的cad,有零件图有大神可以帮忙代画一下的吗,有酬劳.
图片尺寸462x486
u形件弯曲模具设计【冲压零件弯曲顺序的优化及模具设计】
图片尺寸700x490
宽口u形弯曲模
图片尺寸392x368
u型件折弯模具设计
图片尺寸350x300
u形闭角弯曲模设计
图片尺寸814x605