一次性电子烟结构图

一次性电子烟原理是什么?
图片尺寸880x524
关于电子烟的鬼话你还要信多久
图片尺寸1080x676
手动开关(按键开关)电子烟的结构: 机械开关电子烟的结构
图片尺寸1080x810
儿童身边一匹"隐形"的狼,远离"二手烟,三手烟,电子烟"
图片尺寸914x720
换弹一次性电子烟结构设计
图片尺寸640x451
一种陶瓷芯磁吸式电子烟
图片尺寸1666x1595
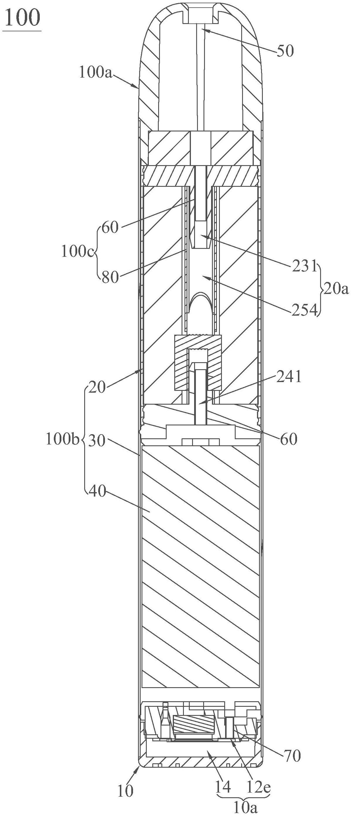
带气流稳定结构的一次性电子烟-爱企查
图片尺寸1204x2787
警惕流向未成年人的"毒品"——电子烟
图片尺寸640x281
9个小技巧,帮您更好地使用电子烟|尼古丁|香烟|烟油|电池_网易订阅
图片尺寸508x522
电子烟资本如何侵入你的生活?
图片尺寸640x291
一体式电子烟结构
图片尺寸1205x2367
2.电子烟的结构和原理
图片尺寸660x419
cn211882194u_一种一次性电子烟结构
图片尺寸1829x1683
电子烟的结构以及工作原理
图片尺寸660x308
电子烟有尼古丁算烟草成分_有烟草证怎么订烟_烟草原味的烟都有哪些
图片尺寸698x640
电子烟之小烟结构拆解解析
图片尺寸600x622
电子烟结构图电子烟研发的初衷是剔除烟草中尼古丁以外的有害物质,只
图片尺寸618x423
一种电子烟
图片尺寸1379x2682
一种一次性电子烟结构的制作方法
图片尺寸1000x923
电子烟结构 简报
图片尺寸752x576