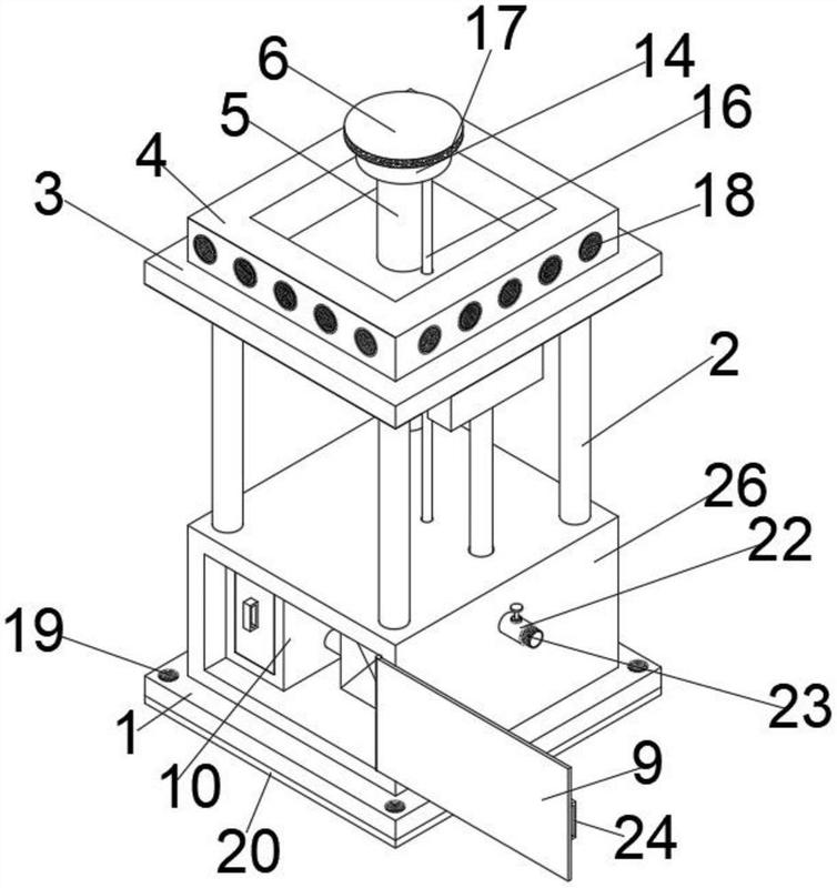
一种降尘装置

商水矿石/石料堆场降尘设备-嵩县喷雾式降尘设备
图片尺寸600x450
全自动降尘雾炮机 漯河dc-wp50降尘喷雾机报价
图片尺寸1080x1440
一种建筑智能化工程用降尘装置-爱企查
图片尺寸1243x1867
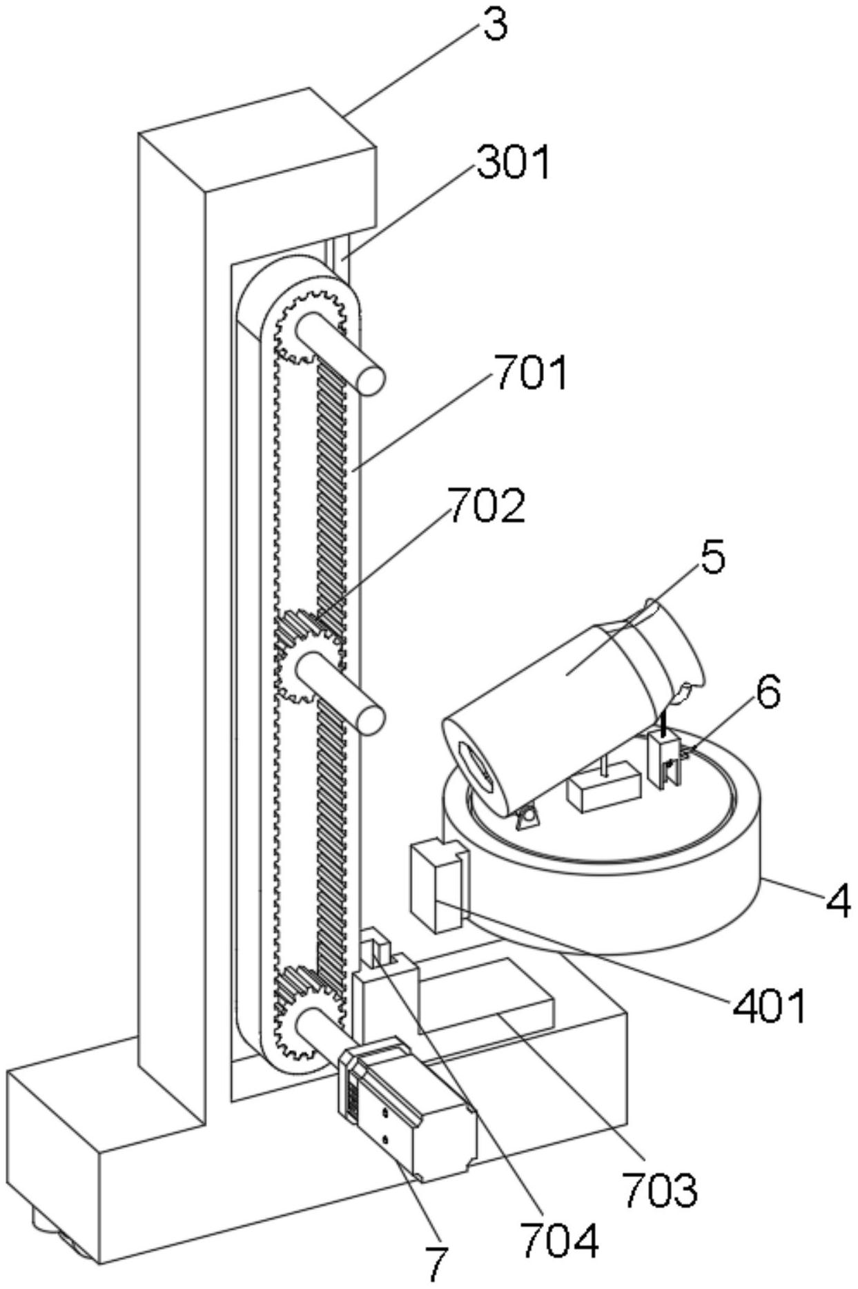
一种矿山开采用喷气式防堵降尘装置
图片尺寸1998x1715
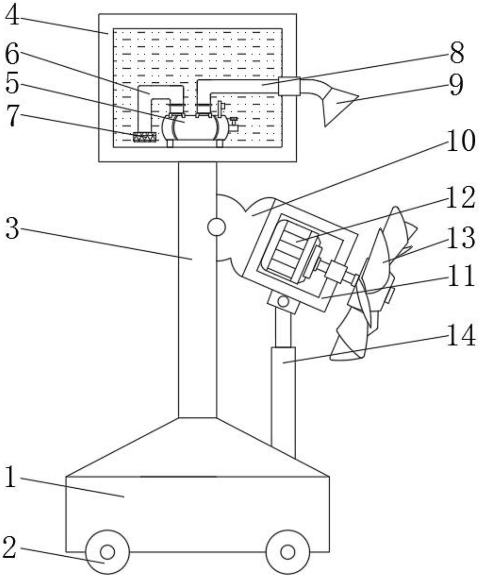
一种有色金属矿山采矿用现场喷淋降尘装置
图片尺寸1675x1453
雾炮机料棚喷雾降尘案例
图片尺寸3872x2592
环保降尘雾炮机为什么被广大用户青睐?
图片尺寸640x397
一种骨料仓的降尘装置
图片尺寸1996x1809
煤棚快速降尘技术高压喷雾降尘系统
图片尺寸1200x1200
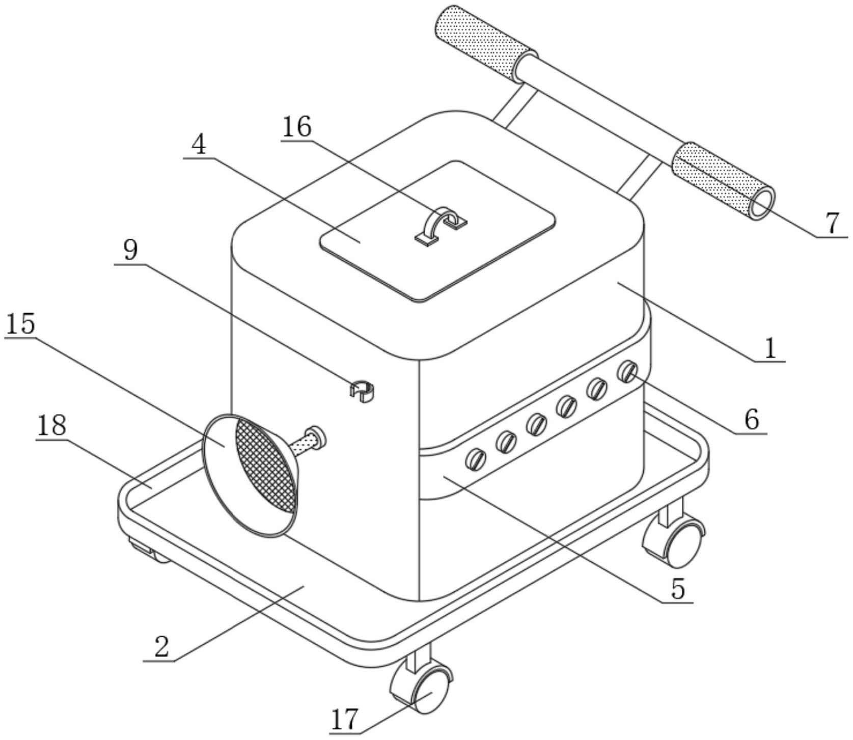
一种房屋建筑施工降尘装置
图片尺寸1677x1736
一种市政施工降尘用喷雾装置
图片尺寸1859x1714
一种用于建筑施工工地的土方降尘装置
图片尺寸1570x1817
武汉友洁降尘降温神器服务优惠促销
图片尺寸4160x2336
一种矿山露天开采用降尘装置-爱企查
图片尺寸754x800
一种建筑施工用降尘装置的制作方法
图片尺寸1973x2003
一种煤矿井下用降尘装置
图片尺寸1829x1523
一种建筑施工用降尘装置
图片尺寸1589x1915
一种降尘装置的制作方法
图片尺寸1851x1590
一种建筑施工地降尘装置的制作方法
图片尺寸1722x1971
一种装修用室内降尘装置的制作方法
图片尺寸1819x2089