万向支架原理

三脚架式球笼 万向传递原理 球笼是等速万向节的一种,其还分为两种
图片尺寸600x471
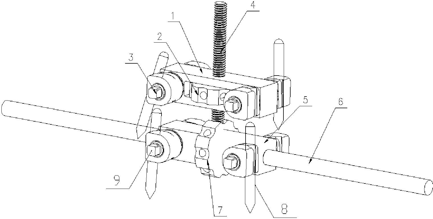
cn2227407y_鱼竿万向支架失效
图片尺寸1784x2000
一种减震型万向轮支架的制作方法
图片尺寸246x347
投影仪吊架圆管加厚加粗钢管通用万向可调节伸缩挂架多功能内走线架子
图片尺寸800x800
cn306019656s_车载双球头万向支架有效
图片尺寸1014x1831
三分钟彻底搞懂万向节
图片尺寸617x234
办公桌显示器支架 万向旋转电脑支架da2-5016
图片尺寸2048x1676
能帮孩子提升记忆力的科普书,少见!
图片尺寸640x822
汽车录像云台支架万向固定运动相机车载吸盘拍摄支架车内直播配件
图片尺寸1080x1920
是将变速箱减速器与驱动轮之间传递扭矩的轴,其内外端各有一个万向
图片尺寸640x420
通用电脑显示器气压升降支架旋转伸缩工控机械臂nbf150万向电视架
图片尺寸800x800
泉州hd万向补偿器具体使用法和产品类别的说明
图片尺寸500x529
cn108245233a_一种多用万向复位骨搬移支架在审
图片尺寸1520x771
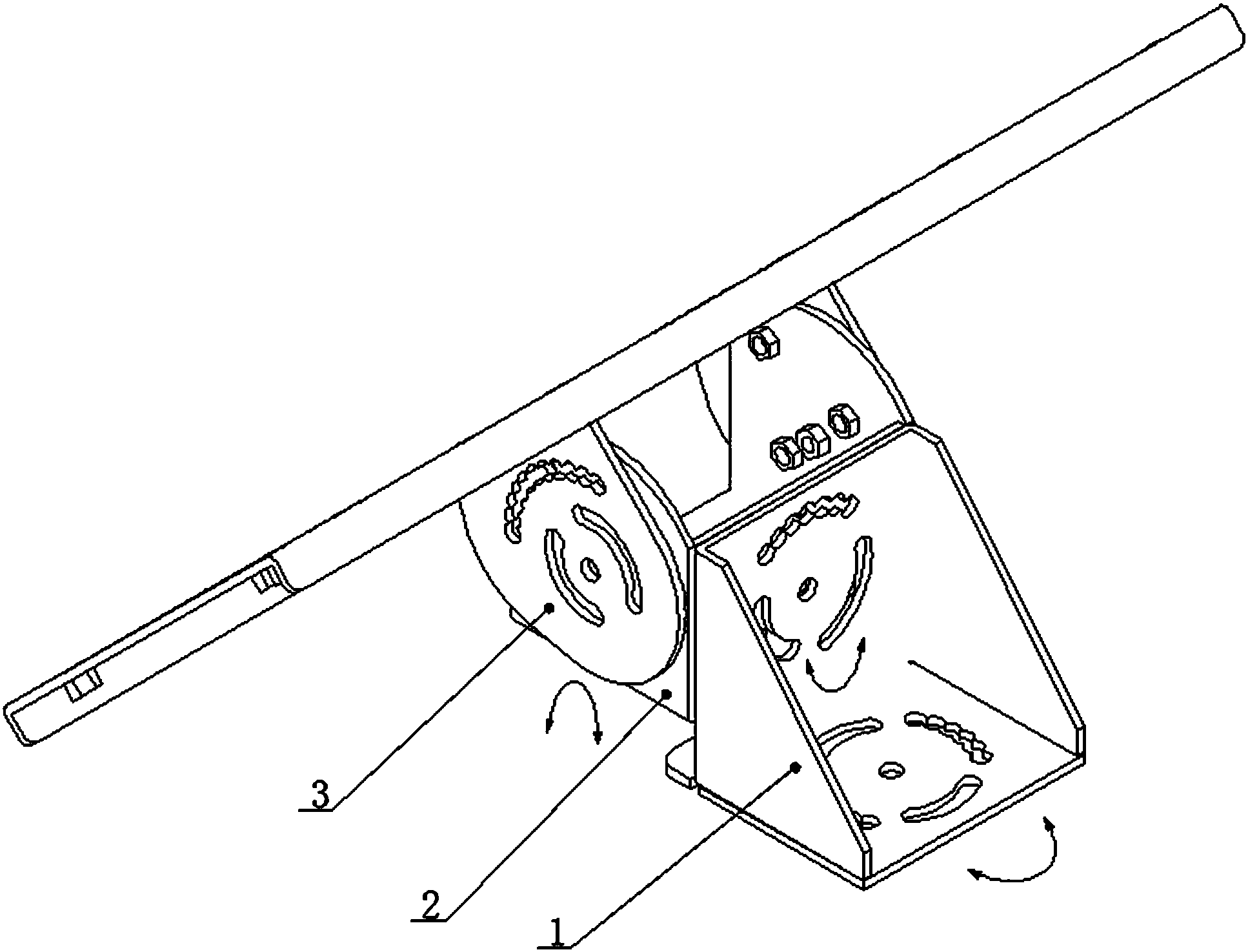
一种可靠的万向节监控支架
图片尺寸1934x1475
一种农田渠道用清淤装置的制作方法
图片尺寸726x471
通用显示器调节支架桌面增高支架万向重力定位支架横竖屏旋转底座
图片尺寸1000x1000
"蓝箭"和"中华之星"的动力转向架是什么型号?
图片尺寸290x241
提醒司机:车子行驶6万公里,4种零件没坏也更换,能让汽车更省油
图片尺寸600x407
腾达飞车载拍摄支架跨境汽车万向拍摄直播第一视角吸盘手机支架
图片尺寸1080x1080
换了8辆车才懂得:车上这"孔"一月清理一次,动力十足还能省油
图片尺寸640x427