万向节结构

刚性万向节和挠性万向节▼▼本文以简单结构的万向节为例作了相关介绍
图片尺寸640x468
十字轴式刚性万向节
图片尺寸1236x1180![[h1] 2,球笼式万向节[/h1]](https://i.ecywang.com/upload/1/img0.baidu.com/it/u=3581138718,3703505610&fm=253&fmt=auto&app=138&f=JPEG?w=600&h=424)
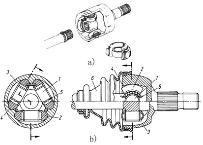
[h1] 2,球笼式万向节[/h1]
图片尺寸600x424
万向节真能在很多方向传递动力吗
图片尺寸605x485
固定型球笼式万向节的结构是什么样的?
图片尺寸575x358
等速万向节准等速万向节有哪几种
图片尺寸436x297
双联式万向节
图片尺寸1952x1108
转向与传动少不了它 浅谈万向节那些事(第1页)
图片尺寸500x372
等速万向节的分类及加工工艺
图片尺寸468x345
乘用汽车等速万向节分类及结构第一版
图片尺寸834x595
等速万向节技术ppt
图片尺寸1080x810
一种等速万向节
图片尺寸1774x903
等速万向节有哪几种等速万向节
图片尺寸356x305
汽车底盘万向节的内容(3)
图片尺寸1600x1360
等速万向节有哪几种等速万向节
图片尺寸460x298
cn112161002a_一种固定端球笼式等速万向节在审
图片尺寸1930x1166
万向传动装置
图片尺寸1080x810
各种万向节的结构分析
图片尺寸579x242
三枢轴式万向节
图片尺寸413x294
cn101319694b_钢球十字均布球笼全封闭万向节失效
图片尺寸1683x1169