万向节锁死结构

刚性万向节和挠性万向节▼▼本文以简单结构的万向节为例作了相关介绍
图片尺寸640x468
十字轴式刚性万向节
图片尺寸1236x1180
毕业设计,求一张零件的cad图(球叉式等速万向节),最好带技术要求
图片尺寸600x310
球笼式万向节的结构见下图.
图片尺寸620x743
涨知识~万向节的真的是"万向"吗?
图片尺寸473x297
万向节
图片尺寸560x420
双联式万向节
图片尺寸1952x1108
等速万向节
图片尺寸650x358
万向节球笼_球笼万向节保持架
图片尺寸465x271
等速万向节的分类及加工工艺
图片尺寸468x345
> 万向节种类
图片尺寸350x270
万向传动装置由万向节和传动轴所组成
图片尺寸640x286
转向与传动少不了它 浅谈万向节的那些事儿
图片尺寸500x350
各类型万向节结构和工作原理
图片尺寸893x227
一种万向节总成的制作方法
图片尺寸1000x584
caxa万向节图纸
图片尺寸285x433
一种花键连接万向节
图片尺寸270x202
球笼式万向节设计【三维sw】【9张cad图纸,说明书】.zip
图片尺寸709x570
一种六自由度运动平台杆端球头万向节的制作方法
图片尺寸903x920
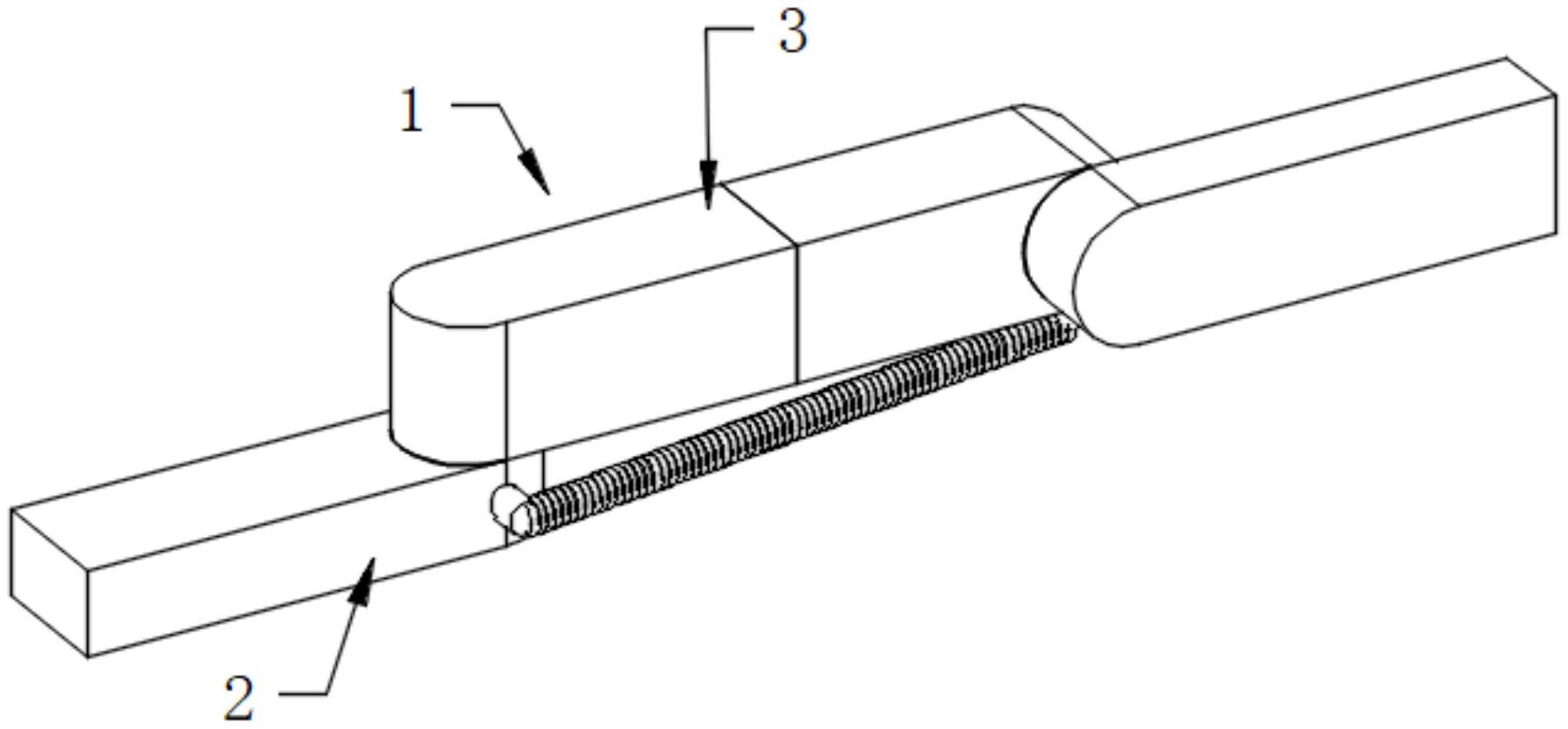
cn213541058u_一种方便锁紧固定的万向节有效
图片尺寸1796x835