万向软轴解剖图

钢丝软轴软轴的结构型式和规格
图片尺寸1131x495
软轴结构的制作方法
图片尺寸1000x464
一种带渐开线花键付的万向传动轴的制作方法
图片尺寸443x417
一种等速万向传动轴的制作方法
图片尺寸1000x772
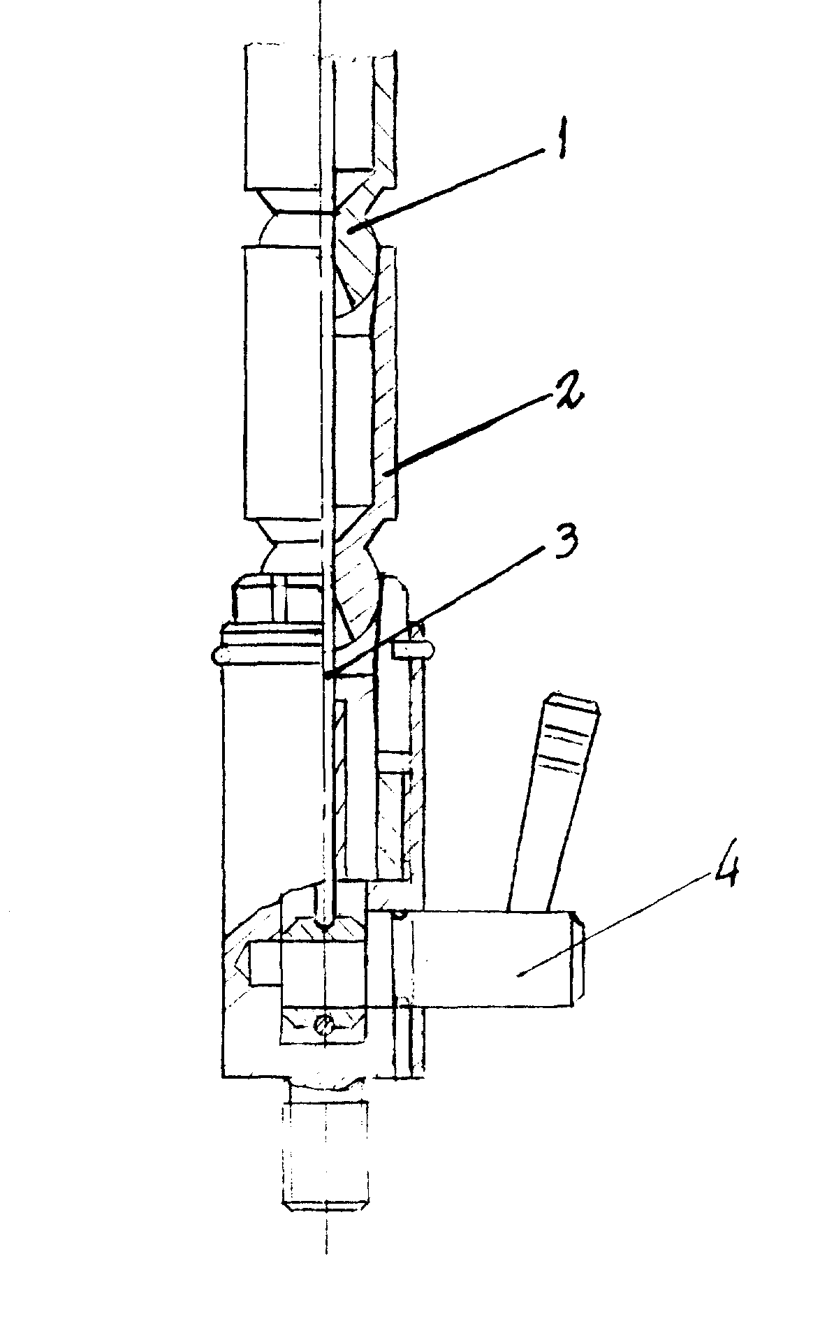
一种万向软轴及万向软轴电动起子制造技术
图片尺寸451x1000
传动软轴的制作方法
图片尺寸898x1000
万向传动轴sw
图片尺寸820x540
cn2153037y_可调软轴表座失效
图片尺寸2592x1536
万向节轴模型图
图片尺寸820x388
电钻电磨通用软轴夹头手柄吊磨机多功能万向软轴延长软管连接轴 支架
图片尺寸742x595
戴恩万向软轴批头配件电钻螺丝刀软管连接杆套筒加长杆转弯钻头
图片尺寸800x800
cn2211589y_蛇型万向关节支架失效
图片尺寸1184x1888
万向传动轴sw
图片尺寸820x540
万向软轴拐弯螺丝批延长棒电钻软管电动螺丝刀多功能批头连接杆
图片尺寸800x800
万向软轴 手电钻软管 电动螺丝刀批头套装 充电钻延长连接轴软杆 接头
图片尺寸800x800
yimtop通用万向软轴 批头电钻连接轴 多功能手电钻拧螺丝软轴批发
图片尺寸750x1078
机构运动简图测绘模型50件高性能初级维修电工及技能培训考核装置
图片尺寸556x673
摩托车用软轴传动系统的制造方法与工艺
图片尺寸1000x834
球笼式及三轴销式万向传动轴
图片尺寸820x515
41电镐
图片尺寸750x1000