三合一干燥机cad

结晶干燥机
图片尺寸504x674
南瓜粉喷雾干燥机计算说明
图片尺寸1025x644
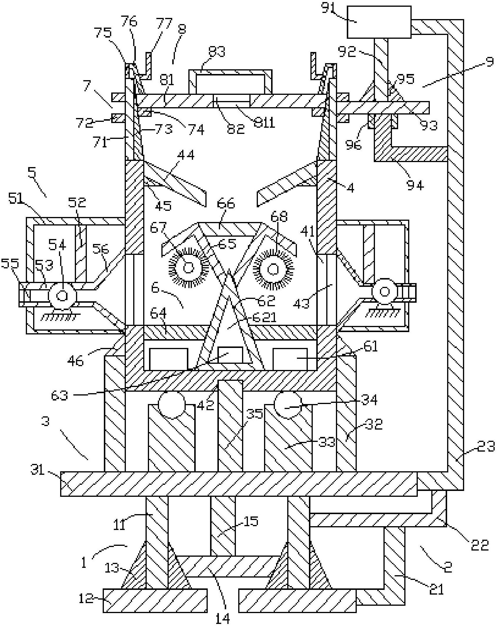
一种制药干燥装置
图片尺寸1694x2132
实验室喷雾干燥机价格生产厂家
图片尺寸515x547
【生产全脂奶粉干燥机 羊奶粉专用喷雾干燥机】图片
图片尺寸541x414
3-加料口;4-干燥器筒体;5-热风分布孔板;6-配风室;7-振动弹簧;8-机架
图片尺寸485x539
有机溶剂喷雾干燥机解决了有机溶媒干燥难的问题
图片尺寸706x415
一种节能型谷物干燥机
图片尺寸712x1194
污泥干化新型干燥机桨叶干燥机
图片尺寸640x422
最全总结之14种流化床干燥器的工作原理及其应用
图片尺寸470x311
结晶干燥机
图片尺寸487x670
一种节能型谷物干燥机
图片尺寸766x635
高效湿法混合制粒机旋转制粒机(挤压制粒机)沸腾干燥机(流化床干燥机)
图片尺寸743x471
电控空气干燥器
图片尺寸1900x2316
制粒干燥机
图片尺寸577x449
一种节能型谷物干燥机
图片尺寸712x475
药用卧式流化床干燥机新标准草案发布
图片尺寸1080x718
真空干燥器
图片尺寸523x317
厢式干燥器
图片尺寸635x434
闪蒸干燥机和气流干燥机的不同之处
图片尺寸600x450