三段式墙体手绘图

法国古典主义时期 巴黎 克劳德·佩洛 法国古典主义 立面三段式,中间
图片尺寸2565x1280
新亚洲古典高层居住楼三段式真石漆表皮屋顶建筑草图设计素材
图片尺寸1269x1269
住宅立面,14种花样推敲—— 最经典的三段式
图片尺寸720x607
恪守与应变南京招商局办公楼设计分析
图片尺寸640x537
中轴对称,三段式,端部高塔
图片尺寸1080x745
手绘对设计师到底有多重要
图片尺寸900x1000
buddenturm 小屋,三段式住宅 / hehnpohl architektur,场地平面图
图片尺寸1004x603
三段式建筑的形体生成
图片尺寸1000x633
出檐较深,饰有齿状装饰下为强烈水平线脚的檐部上部有罗马交叉式栏杆
图片尺寸1080x1097
一种为交叉带分拣机配套的三段式供件台控制方法
图片尺寸1987x1204
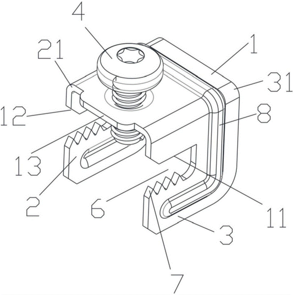
三段式卡扣
图片尺寸997x1000
卢浮宫东立面的典型古典主义 三段式_调整大小.jpg
图片尺寸1200x291![[山西]法式风格"三段式"构图多层住宅建筑设计方案文本](https://i.ecywang.com/upload/1/img2.baidu.com/it/u=844654733,3333231971&fm=253&fmt=auto&app=138&f=JPEG?w=500&h=215)
[山西]法式风格"三段式"构图多层住宅建筑设计方案文本
图片尺寸914x393![[山西]法式风格"三段式"构图多层住宅建筑设计方案文本](https://i.ecywang.com/upload/1/img2.baidu.com/it/u=1031734567,1788402235&fm=253&fmt=auto&app=138&f=JPEG?w=779&h=419)
[山西]法式风格"三段式"构图多层住宅建筑设计方案文本
图片尺寸779x419
第三届联盟杯室内设计比赛作品展示贴
图片尺寸568x614
建筑用三段式对拉螺栓的制作方法
图片尺寸1000x721
罗伯特·斯特恩给万科御澜道的建筑设计中采用三段式 即屋顶 墙体基座
图片尺寸468x420
一级注册建筑师大设计考前锦囊_建筑手绘-商业新知
图片尺寸965x336
考研英语作文指导:结合大纲利用"三段式"写作
图片尺寸537x230
卢浮宫三段式东立面
图片尺寸550x284