三相整流桥 接线

整流桥的接线方法
图片尺寸438x546
57三相整流桥10a 115a小封装 30a mds100a1200v 75a 50a 直流 - 电子
图片尺寸800x800
三相整流桥线路图原理图是怎样的?
图片尺寸600x400
三相桥式全控整流电路从电阻负载变成阻感负载就遇到的错误,怎么解决
图片尺寸579x329
一文教你读懂桥式整流电路
图片尺寸1200x672
三相整流桥电路
图片尺寸1080x675
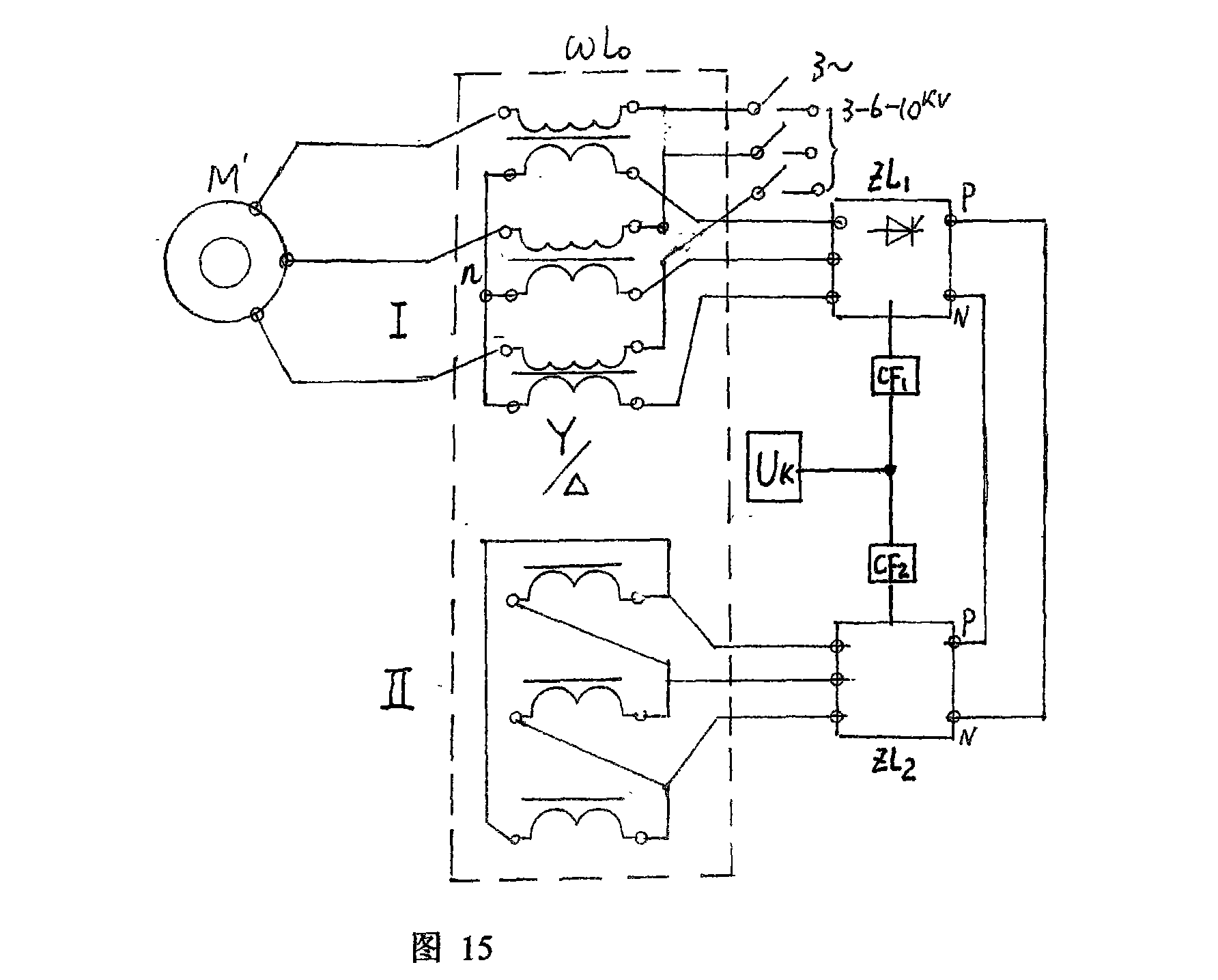
三相整流桥组成的中低压和高压电机软起动器
图片尺寸1784x1435
3,桥式整流全波整流器件用的是两个整流二极管,可以把正负相的电压都
图片尺寸2521x2277
三相桥式整流器
图片尺寸1080x634
全桥整流电路(仅供参考)
图片尺寸1858x2629
【现代电力电子技术】照本宣科 第三章 整流电路 三相桥式全控整流
图片尺寸1728x1080
【电力电子】三相整流桥电路
图片尺寸1920x1080
整流桥型号2510包含哪些信息?四个针脚怎么接线
图片尺寸843x1498
桥式全波整流滤波电路实验接线图
图片尺寸720x1280
你好柴油发电机五爪整流桥什么接线,sql10a的 1月前·江西 0 分享
图片尺寸1079x1343
整流桥接线技巧,无标注也能轻松接
图片尺寸720x960
三相整流桥组成的中低压和高压电机软起动器
图片尺寸1707x956
三相全控整流桥_西班牙catelec
图片尺寸600x400
整流桥并联的功率那个大?请问下图哪一种方法功率大?详细介绍下?
图片尺寸607x620
变频器的整流部分:三相桥式整流
图片尺寸640x480