三联三通板

澳颜莱排水联&塑pvc塑料管道顺水三通三叉50 75 110 160下水接头
图片尺寸350x350
连通板/三联三通/鲁尔接头/医疗配件 奉天医疗智造#橡胶制 - 抖音
图片尺寸1440x1440
联塑 pvc排水管顺水三通 50mm 5个/包
图片尺寸800x800
器 造影注射器 压力延长管 一次性使用冠状动脉造影注射器 三连三通
图片尺寸400x300
ptca三联三通板
图片尺寸157x174
pvc给水等径正三通upvc给水管灰色南亚华亚南京配件胶粘异径三通
图片尺寸1920x1920
三联排三通阀
图片尺寸600x600
联塑(lesso) pvc-u排水 异径三通 pvc排水配件接头下水接头 110*50
图片尺寸350x350
厂家现货直供upvc三通 pvc给水三通φ90pvc正三通 现货供应优惠瑞光牌
图片尺寸750x750
水平连体三通_画板 1.jpg
图片尺寸1667x1667
异径无缝焊接325三通
图片尺寸1920x1920
联塑/pvc给水异径三通(yzw专用)
图片尺寸576x519
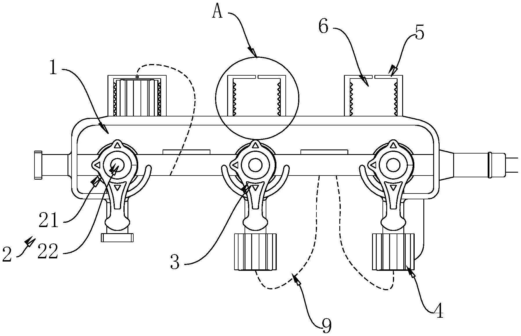
一种一次性使用三联三通-爱企查
图片尺寸1798x1160
背景技术::目前,我国在行冠脉介入手术过程中,造影剂与三联三通连接的
图片尺寸441x211
"三联三通"是较常用连接设备,其近端一般接延长导管,后与冠脉造影导管
图片尺寸636x408
一次性使用多联三通
图片尺寸2480x3508
冠脉造影及治疗流程课件_第3页
图片尺寸1500x1125
冠脉造影流程操作最详细--------三联三通的准备
图片尺寸2442x1626
心内冠脉造影三联三通管用法教程
图片尺寸442x248
史上最详细:冠脉造影全程图解
图片尺寸771x575