三角支撑结构

救援三角架 js2.0/2.5a
图片尺寸1920x1618
三角支撑外挂架 - 抖音
图片尺寸500x473
一种支撑结构优化的三角警告牌-爱企查
图片尺寸614x649
三角支撑
图片尺寸392x390
一种三角支撑架的制作方法
图片尺寸1000x962
一种易拆卸可循环钢筋笼骨架三角支撑
图片尺寸1597x1536
浅谈园林绿化工程中树木支撑固定方法
图片尺寸1890x1812
一种古建筑三角支撑架的制作方法
图片尺寸1000x782
一种用于脚手架上的三角撑制造技术,脚手架三角支撑专利_技高网
图片尺寸1000x745
一种抗风型三角警告牌-爱企查
图片尺寸800x727
想做一个三角支撑架的仿真,该定义哪一种类型的运动副?
图片尺寸1200x772
cn109953485a_一种高耐磨稳固的三角支撑结构在审
图片尺寸817x1000
一种三角支撑装置的制作方法
图片尺寸395x461
本外观设计产品的用途:用于支撑和固定摄像机.3.
图片尺寸1602x1735
一种用于脚手架上的三角撑的制作方法
图片尺寸860x1000
一种高耐磨稳固的三角支撑结构的制作方法
图片尺寸817x1000
一种操作方便的三角支架装置及其操作方法
图片尺寸1595x1516
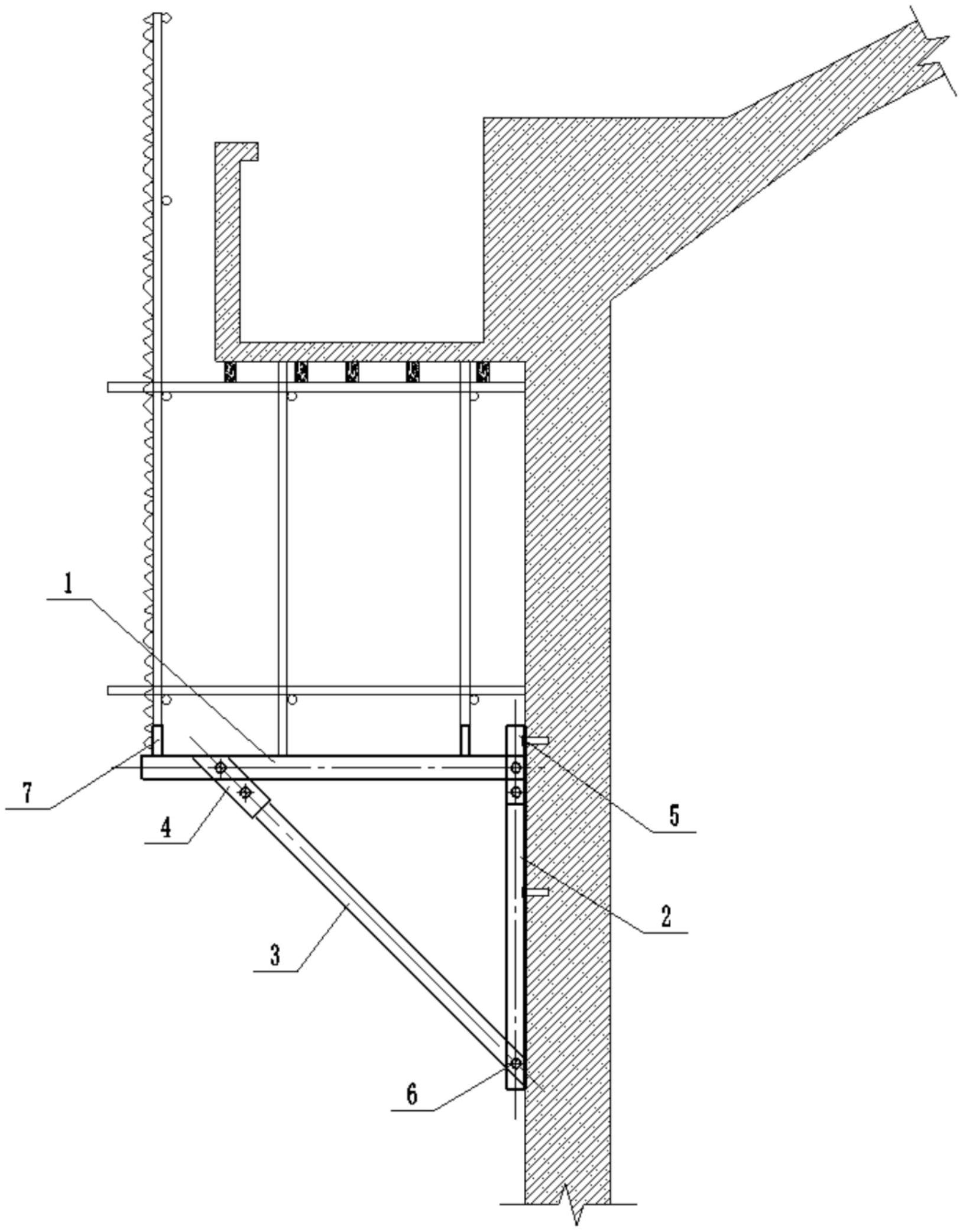
一种用于浅圆仓挑檐板支撑体系的可周转式三角支撑架
图片尺寸1629x2083
一种水平支撑三角架-爱企查
图片尺寸745x799
毕业答辩ppt模板-暨南大学
图片尺寸1080x810