三角立柱尺寸

小区铁丝护栏桃型柱护栏网工厂区围栏三角折弯铁丝桃形立柱护栏网
图片尺寸1919x1919
厂家直销交通标志牌 三角警示标志 道路指示牌 交通安全设施
图片尺寸1024x541
阳台挂盆三角盆花边三角盆立柱盆挂盆角盆带毛巾架盆洗脸盆大小号
图片尺寸750x1380
出口款式立柱盆家装三角陶瓷盆简约分体式陶瓷洗脸盆立柱盆
图片尺寸790x643
做一块立柱底板的标准模板,保证边缘尺寸和固定孔孔距,利用标准模板在
图片尺寸545x616
牛栏网铁丝网柱立柱铸铁三角实心柱尖头柱加厚养殖牛羊户外围栏网
图片尺寸842x832
前角柱
图片尺寸480x700
柱子尺寸核对表格
图片尺寸867x818
某立柱cad节点构造平面图
图片尺寸610x861![[资料]某三角形 立柱三面体 牌结构设计图](https://i.ecywang.com/upload/1/img2.baidu.com/it/u=820764855,1333252251&fm=253&fmt=auto&app=138&f=JPEG?w=560&h=399)
[资料]某三角形 立柱三面体 牌结构设计图
图片尺寸560x399
架苹果立牌广告展架牌展板指示牌引导牌 白色60×80cm【双立柱款】
图片尺寸800x800
标准货架尺寸,无锡皓盛用的立柱和横梁规格 尺寸你了解多少
图片尺寸700x567
柱最小截面尺寸及最小配筋量
图片尺寸630x473
单节钢柱外形尺寸的允许偏差
图片尺寸463x704
中型货架立柱片尺寸
图片尺寸790x360
栏杆ss304立柱【尺寸】304#1050*100*8mm【型号】clt-1204产品信息
图片尺寸908x564
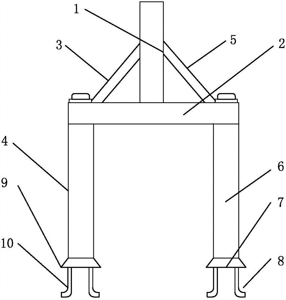
一种三角式大棚立柱
图片尺寸955x1000
洗脸盆间立式户型卫生盆陶瓷洗体三角立柱台盆洗面盆一阳台手盆小
图片尺寸820x1012
hg/t 21629-1999《管架标准图》全面概括了管道支吊架的十一大类
图片尺寸992x924
试件尺寸及配筋
图片尺寸760x874