三角铁平面图怎么画

上海现货销售唐山产角钢批发幕墙用三角支架q235b等边黑角铁
图片尺寸425x481
怎么画角钢的平面图
图片尺寸312x234
三角铁简笔画卡通
图片尺寸335x264
热扎等边角钢角钢角铁q235规格齐全
图片尺寸465x333
一种高强度纸质三角铁制造技术
图片尺寸1000x774
cn206816613u_一种耐腐蚀角铁有效
图片尺寸975x1000
亲子画三角铁简笔画
图片尺寸900x600
一种稳固性三角铁-爱企查
图片尺寸799x463
亲子画三角铁简笔画
图片尺寸900x600
2m,如果想做别的尺寸的建议也画一个这样的图,数一下需要的角钢三角铁
图片尺寸1080x1439
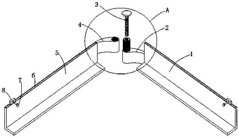
一种稳固性三角铁的制作方法
图片尺寸539x312
打算焊个三角铁架子放鱼缸大概撒价位啊
图片尺寸699x591
机械制图的角铁怎么画
图片尺寸972x727
用角铁加工这个角件,用铣床好加工吗?
图片尺寸696x664
乐器三角铁的插画
图片尺寸650x651
亲子画三角铁简笔画
图片尺寸900x600
角钢支撑 cad怎么画,如图.求画.
图片尺寸500x323
三角铁简笔画卡通
图片尺寸750x500
bw-3477 角铁-角码-角钢-l型连接件
图片尺寸1300x840
如图所示是一个苗圃,它的宽a为4.8m,高b为3.6m,棚总长d为10m.
图片尺寸1109x664