上升装置

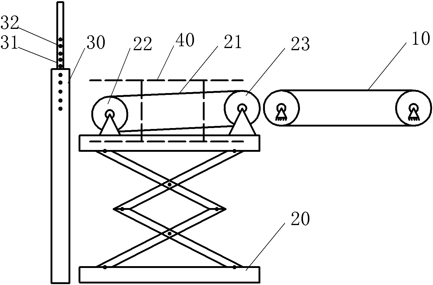
自动卸料链条式提升机电动翻斗式升降物料机上升装置平稳翻转角度大
图片尺寸750x750
自动卸料链条式提升机电动翻斗式升降物料机上升装置平稳翻转角度大
图片尺寸750x750
自动卸料链条式提升机电动翻斗式升降物料机上升装置平稳翻转角度大
图片尺寸750x1329
自动卸料链条式提升机电动翻斗式升降物料机上升装置平稳翻转角度大
图片尺寸750x750
电动上升器 - 2020年最新商品信息聚合专区 - 百度爱采购
图片尺寸756x997
油烟机玻璃面板上升装置
图片尺寸300x225
手动升降台 z轴平台 位移台 上升调节台 手动上下移动台 pt-sd418
图片尺寸700x500
实现救援,高空作业等功能2,通过操作自动防故障装置的开关来控制上升
图片尺寸756x1008
固定装置连接牢靠,底部平台在油缸作用下上升
图片尺寸990x1760
垂直上升堆垛装置
图片尺寸800x402
从而使绕在卷筒上的钢丝绳/缆线带动吊钩装置上升或下降
图片尺寸404x376
一种干燥提升装置-爱企查
图片尺寸1286x1465
设备与工艺装置
图片尺寸728x587
8米铝合金升降机 上升平稳的液压升降设备
图片尺寸500x500
一种工件上升装置的制作方法
图片尺寸438x525
一种用于自动售货机上升机构的取货装置
图片尺寸1000x981
盒体上升调节装置-爱企查
图片尺寸1422x937
控制工程的升降装置是带动控制设备上升下降的升降装置,升降装置是
图片尺寸443x382
一种打螺丝机夹具盘平移上升装置的制作方法
图片尺寸1000x656
一种种子浸泡锌硒钙液自动计时上升装置的制作方法
图片尺寸542x378