上悬窗符号

上悬窗是不是属于平开窗
图片尺寸498x296
图纸常用符号及图例大全(收藏备查)
图片尺寸640x675
手摇开窗器手摇曲臂开窗器上悬窗手动开窗器排烟装置联动高窗曲臂
图片尺寸750x1203
幕墙窗电动开窗器上悬窗通风排烟窗消防联动电动链条开窗机70度开启
图片尺寸750x750
广州地区供应铝合金门窗防盗推拉门中空玻璃阳光房纱窗铝合金门窗
图片尺寸762x555
悬窗按照铰链位置的不同,分为上悬窗,下悬窗和中悬窗,按照打开方向又
图片尺寸690x299
内开上悬窗
图片尺寸800x800
一种外开上悬窗中柱组件的制作方法
图片尺寸523x559
这是内平开上悬窗的设计吗?
图片尺寸647x477
常见的开启方式:可分为平开窗,中悬窗,上悬窗,下悬窗,立式转窗,水平
图片尺寸553x262
你好,这都是内平开下悬窗吗-服务新干线答疑解惑
图片尺寸1155x412
内开上悬窗
图片尺寸650x641
怎么判断是平开窗,推拉窗,上悬窗,下悬窗
图片尺寸1033x656
上悬窗电动开窗器如何安装_齐家网
图片尺寸500x375
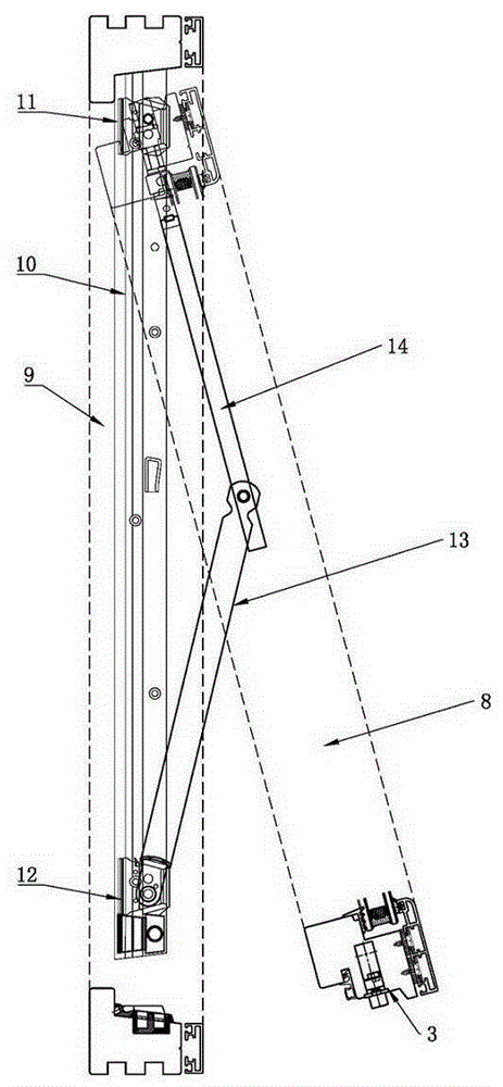
外开上悬窗
图片尺寸463x1000
上悬窗
图片尺寸1620x2160
上悬窗手摇开窗机
图片尺寸581x600
特价外开上悬窗哪里买
图片尺寸350x277
平开上悬窗
图片尺寸400x328
那么,下悬窗和上悬窗有什么区别呢?
图片尺寸2048x1366