下凹式绿地剖面图

下凹式绿地大样图.jpg
图片尺寸760x570
城市下凹式绿地是一种生态型的雨水渗漏设施,其高度低于周围路
图片尺寸728x417
狭义下沉式绿地构造示意图
图片尺寸500x318
下沉式绿地不设置换土层,仅表层下凹.
图片尺寸480x360
下凹式绿地
图片尺寸893x430
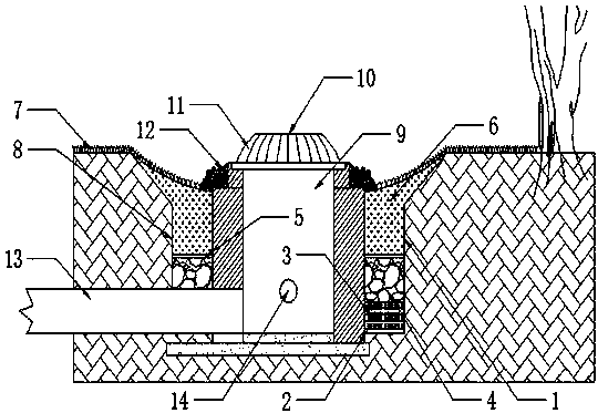
一种用于海绵城市收集雨水的下凹式绿地结构
图片尺寸2002x770
一种下凹绿地结构的制作方法
图片尺寸1000x748
厦门打造城市渗水系统下凹式绿地锁住雨天积水
图片尺寸537x376
下凹式绿地延安雨水收集系统
图片尺寸1949x1378
生态植草沟及下凹式绿地详图
图片尺寸446x335
一种用于海绵城市收集雨水的下凹式绿地结构的制作方法
图片尺寸1000x384
一种下凹式绿地结构
图片尺寸540x373
下沉式绿地具体是怎么计算
图片尺寸1359x712
下凹式绿地和雨水花园的原理说明. 长沙晚报全媒体记者 朱华摄
图片尺寸1080x1440
营造景观背景下增补雨水下渗的下凹绿地构造的制作方法
图片尺寸1000x844
图3 中央绿化带下凹式绿地实际工程案例2,布置在两侧绿化退缩带两侧
图片尺寸551x681
某小区景观节点剖面图系列
图片尺寸858x642
绿施剖面图.jpg
图片尺寸760x608
主要包含:生态植草沟,生物滞留池,下凹式绿地,雨水花园,绿色屋顶,地下
图片尺寸879x502
绿地和景观水体分布情况等,决定采用雨水花园,下凹式绿地,生态树池
图片尺寸639x241