不锈钢折边示意图

不锈钢折弯加工
图片尺寸798x363
不锈钢在装修收口包边的应用
图片尺寸752x786
收边条安装(不锈钢折边收口)
图片尺寸508x333
示意图作图为我们常用做法,不锈钢厚度必需保证3mm以上,因为折边处是
图片尺寸528x479
304不锈钢装饰线条u型槽包边条木板玻璃嵌条黑钛收边条收口条
图片尺寸750x872
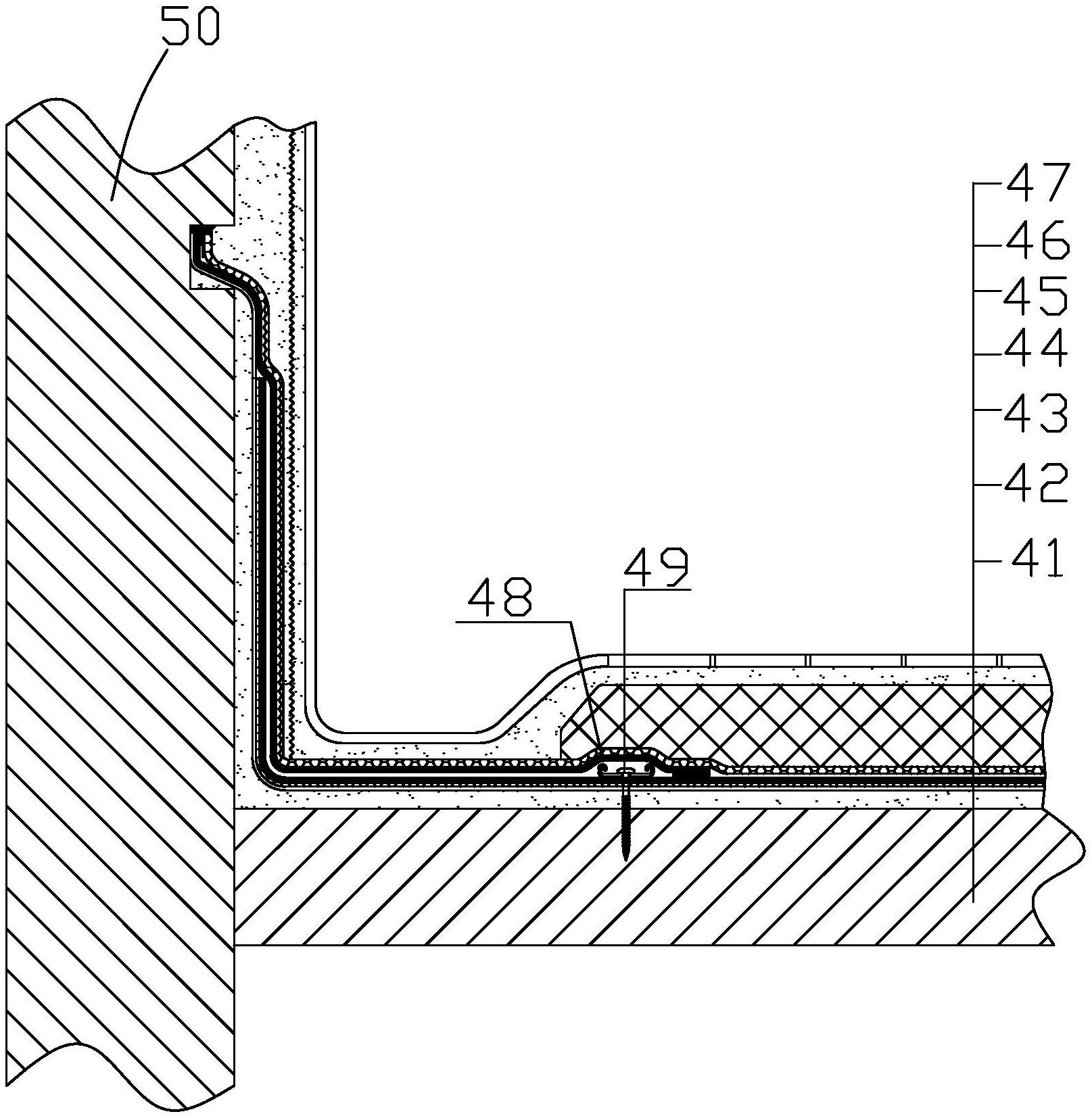
一种不锈钢折边泛水施工方法及钢材裁剪装置-爱企查
图片尺寸1615x1654![[资料]s1 不锈钢 收边大样图](https://i.ecywang.com/upload/1/img2.baidu.com/it/u=1670040076,1821891966&fm=253&fmt=auto&app=138&f=JPEG?w=446&h=374)
[资料]s1 不锈钢 收边大样图
图片尺寸446x374
不锈钢折边必要的处理工艺铣边
图片尺寸1080x1440
不锈钢板折弯计算
图片尺寸600x425
厂家定制铜牌折边不锈钢 公司单位金属标牌 示范企业授权招牌钛金
图片尺寸800x800
收边条安装(不锈钢折边收口)
图片尺寸468x328
304矩形不锈钢管:120x60x5的矩形管.能否加工成折弯图形,如下图?
图片尺寸688x425
不锈钢折边
图片尺寸800x600
不锈钢深化节点多种收边收口解决方案广州架构装饰
图片尺寸926x519
不锈钢制品深化解析,各种收边收口下单解决方案】
图片尺寸918x447
自制不锈钢钓台,台钓方便,又便宜,可以一战
图片尺寸650x365
不锈钢折边安装
图片尺寸1080x1439
收边条安装(不锈钢折边收口)
图片尺寸640x318
示意图: 下图图为我们常用做法,不锈钢厚度建议用3mm以上,因为折边处
图片尺寸698x333
不锈钢304在折v字形120°时回弹角是多少,是正回弹还是负回弹,v字形内
图片尺寸840x382