丝杆模组结构

深圳模组专用滚珠丝杆厂家分享滚珠丝杠滚道修复的方法
图片尺寸1296x726
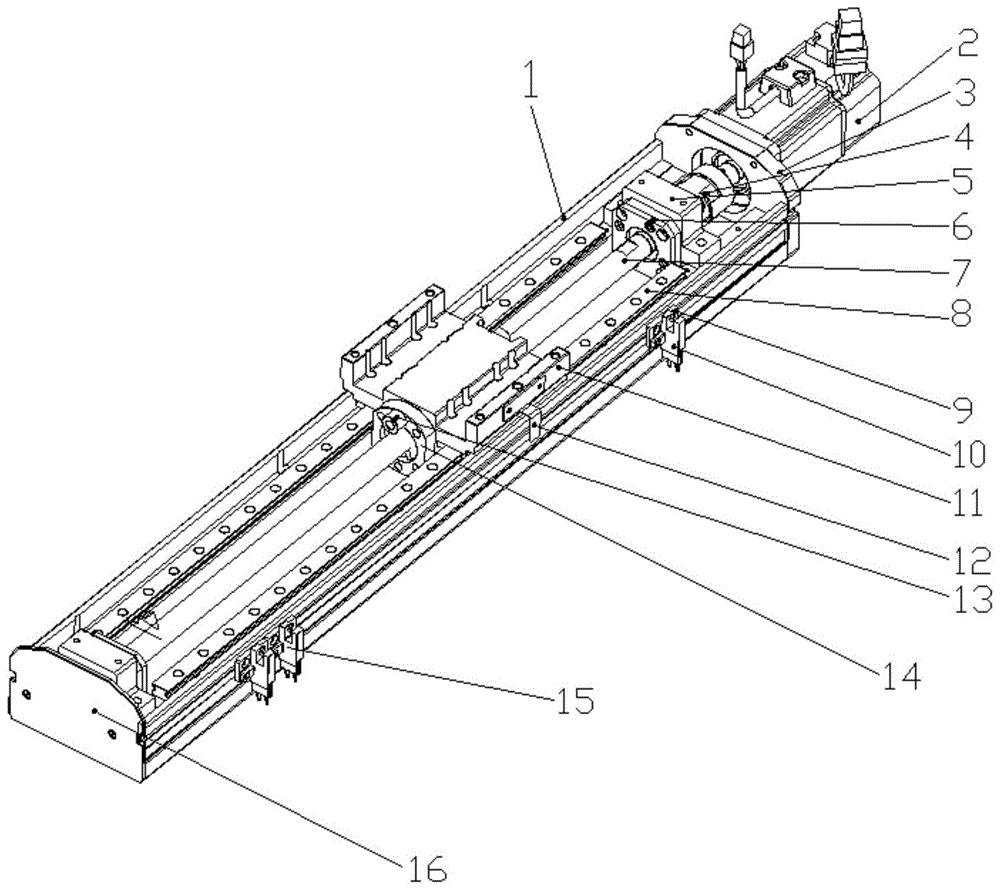
一种基于t型座的滚珠丝杆模组
图片尺寸1983x1704
一种二维方向丝杆调节模组
图片尺寸2378x1484
结构与特长
图片尺寸646x373
出售tka12010c100a1f0线性模组银白色精
图片尺寸1005x526
新型涉及家具调节结构的技术领域,具体为一种单维度方向丝杆调节模组
图片尺寸443x283
丝杆直线模组
图片尺寸820x425
滚珠丝杠机构的装配调整
图片尺寸700x442
c28微型模组滑台型丝杆配28步进电机任意组成十字龙门提供模型
图片尺寸800x800
pkh40滚珠丝杆直线模组精密十字电动移动数控滑台导轨线性滑台 有效
图片尺寸1500x2322
台湾技术直线数控电动滑台铝滑块步进电机tbi滚珠丝杆线性模组
图片尺寸750x400
丝杆模组结构
图片尺寸637x441
滚珠丝杠
图片尺寸428x335
台湾银泰pmi滚珠丝杠的安装方法
图片尺寸484x230
cn110653625a_一种丝杆对拉滑台模组在审
图片尺寸1000x890
步进电机驱动的直线模组,成本低廉,结构简单,运行稳定
图片尺寸765x340
钉磨机床设计(全套论文)
图片尺寸839x594
两种结构主要由:1)精密滚珠丝杠副;2)高牌号球墨铸铁基座;3)滑台;4)
图片尺寸1206x801
120宽的丝杆导轨直线模组
图片尺寸820x271
丝杆多变距模组
图片尺寸433x442