两板模模具结构

常用两板模结构介绍 塑胶模具概论 2d结构图
图片尺寸1080x810
标准二板模结构
图片尺寸640x448
二板式模具结构及名称.ppt
图片尺寸800x600
二:注塑模具二板模按照注塑模具浇注系统基本结构的不同,注塑模具总共
图片尺寸600x500
二板塑胶模具的改进结构
图片尺寸1832x1696
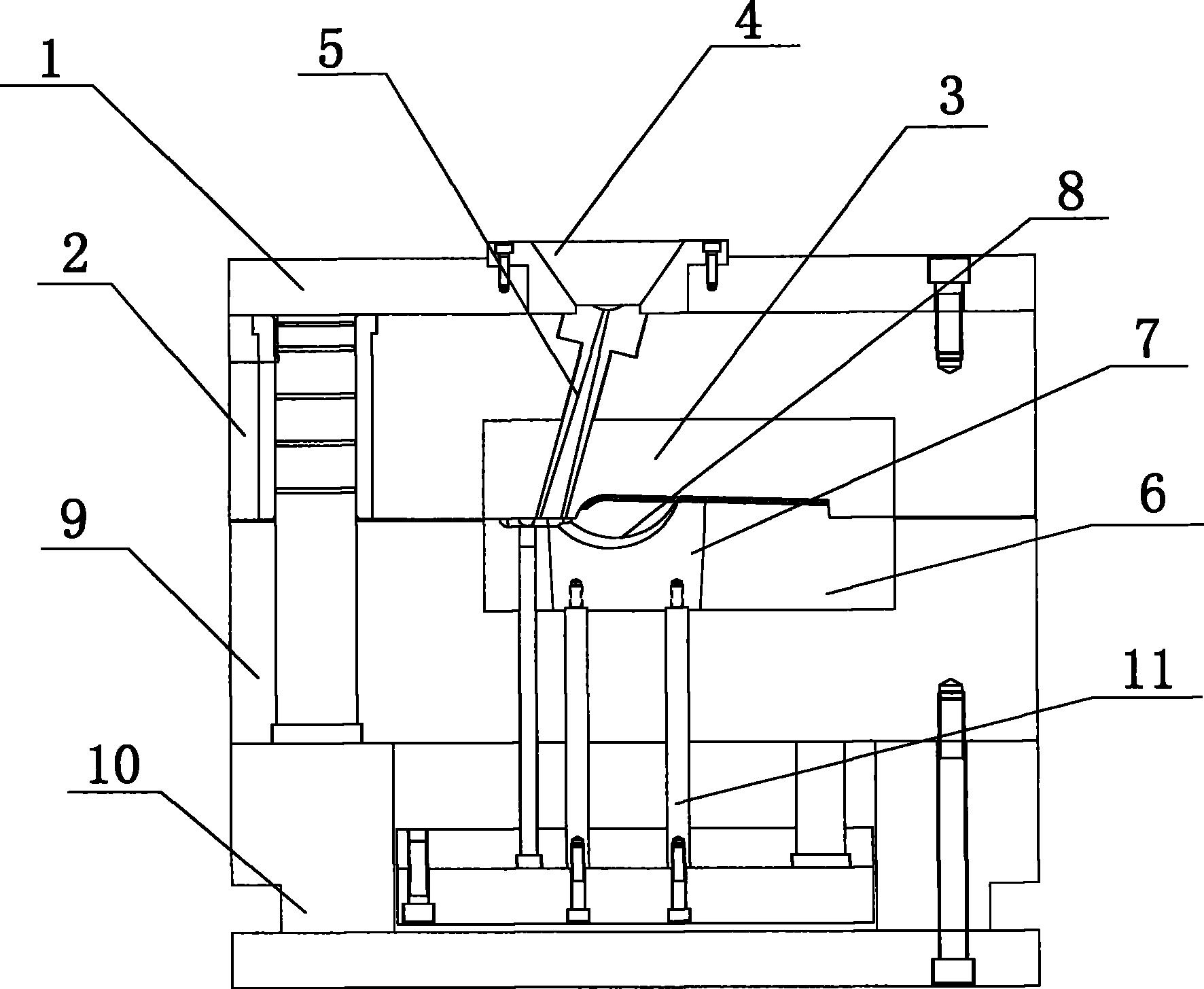
一种模内注塑两板模
图片尺寸1772x1456
鱼鱼的笑脸 0圆形端盖塑胶模具鱼鱼的笑脸 0
图片尺寸1902x1039
两板模基本结构
图片尺寸700x552
ug塑料模具设计(二板模结构)
图片尺寸451x651
机械/仪表 acer塑胶模具规范
图片尺寸1203x966
两板模好在哪?模具设计师必懂的结构奥秘!
图片尺寸1146x644
图片尺寸1080x810
注塑模具两板模组装爆炸图,不一样的模具展示,是不是很炫酷
图片尺寸2998x1874
模具机构动图解析:从两板模到复杂机构,一网打尽你的疑惑
图片尺寸677x575
两板模的结构简单明了,如图所示,由定模和动模两部分组成
图片尺寸1011x621
模具人必备:五金模具的基本知识与结构解析
图片尺寸1064x743
注塑模具两板模结构全解析,细节拆解大揭秘
图片尺寸960x1280
做模具设计还不清楚两板模与三板模的区别?
图片尺寸900x564
模具结构和工艺知识的全面解析
图片尺寸1128x667
模具设计 #模具设计学习 #模具设计培训
图片尺寸1440x1080