严结构

一种咬齿型盘缘封严结构及封严方法技术
图片尺寸648x1000
cn108266236a_一种周向变截面篦齿封严结构在审
图片尺寸1630x1415
滑油封严结构及航空发动机
图片尺寸1887x1601
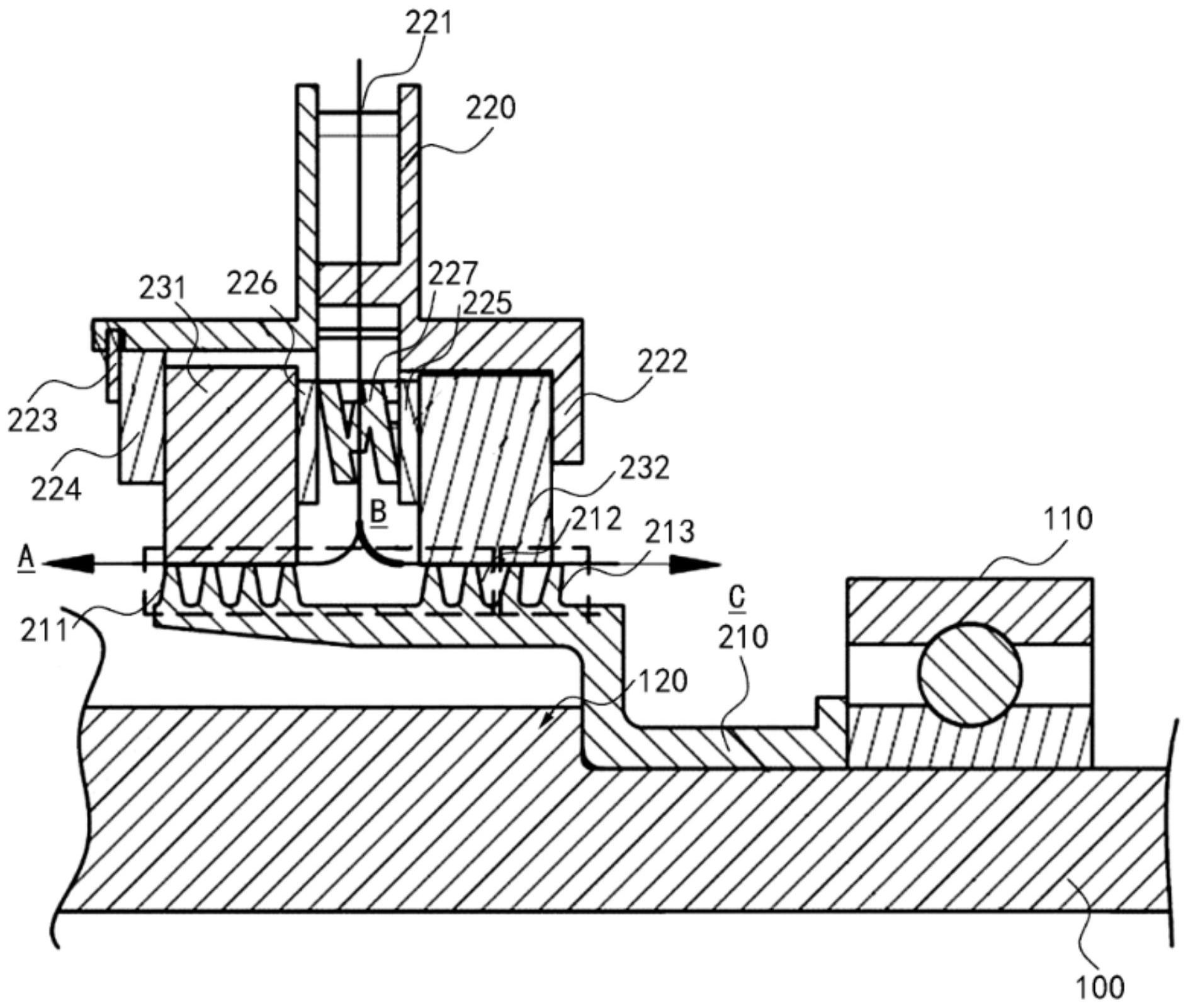
轮缘封严结构涡轮及燃气轮机
图片尺寸1917x1219
一种弹性片封严结构的制作方法
图片尺寸1000x632
cn107762569b_非接触式篦齿封严结构及航空发动机,燃气轮机有效
图片尺寸1000x415
滑油封严结构及航空发动机的制作方法
图片尺寸1000x848
cn109707468a_一种应用于静止机匣间的高效封严结构在审
图片尺寸1000x713
巴中钢结构厂房质量检测专业机构欢迎来电咨询
图片尺寸1259x649
一种可实现轴承共腔及轴承外腔均压的封严结构的制作方法
图片尺寸1000x986
严道医声网采访到四川大学华西医院陈茂教授,邀其和大家分享对于结构
图片尺寸960x960
航发小知识17 — 航空发动机封严结构
图片尺寸504x340
一种高效低阻燃气轮机涡轮轮缘封严结构制造技术
图片尺寸1000x701
一种蓖齿封严结构及适用于蓖齿封严结构的方法与流程
图片尺寸367x444
一种带渐缩引气孔的航空发动机篦齿封严结构的制作方法
图片尺寸872x564
一种导流盘安装连接及封严结构的制作方法
图片尺寸293x444
中国人祖先的严,工艺堪比发动机的斗拱结构谨远胜德国人!
图片尺寸640x560
钢结构基础墩模具密封严-不漏浆
图片尺寸2736x2367
一种燃气涡轮用压气机转子封严结构
图片尺寸1752x1092
摘要:本发明公开了一种封严结构,包括智能主体,所述智能主体的外侧
图片尺寸400x244