中基

图解中基健康一季报:第一季度单季净利润同比减64.56%
图片尺寸480x4376
中基健康:2024年第一季度净利润598.27万元 同比下降64.56%
图片尺寸1134x661
中基健康:2024年第一季度净利润598.27万元 同比下降64.56%
图片尺寸1134x766
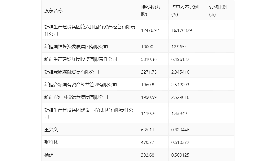
中基健康:2024年第一季度净利润598.27万元 同比下降64.56%
图片尺寸1134x689
寻找宁波500家双休公司之第48家.中基宁波集团股份有限公司 - 抖音
图片尺寸1170x2532
宁波中基大厦
图片尺寸1200x675
中基集团宣传片
图片尺寸1728x1080
> 走进中基 > 企业文化
图片尺寸400x297
安徽中基电池箔科技有限公司邀您共赴2023中国濉溪铝基新材料产业考察
图片尺寸483x208
中基220克长春原味鸡排第一佳鸡排汉堡店西餐店鸡排一箱40片
图片尺寸581x581
中基宁波集团股份有限公司
图片尺寸300x300
潍坊中基集团有限公司
图片尺寸600x400
中基大厦中基大厦
图片尺寸600x400
【12图】中基总部,南部中基大厦,250平正地铁口,大楼稳重大气,宁波
图片尺寸1536x1200
【21图】中基大厦 东南全落地采光 278平 ,多个隔间,户型方正,宁波
图片尺寸1333x999
中基宁波集团股份有限公司
图片尺寸484x484
中基服务-关于我们
图片尺寸720x600
中基;chalkis
图片尺寸624x750
中基
图片尺寸794x1097
中基建工 (1).jpg
图片尺寸1080x607