中继阀结构图

中继阀过充位:当需要加快列车管的充气速度时,制动机可处于过充位,过
图片尺寸894x942
双阀口式中继阀与总风遮断阀ppt
图片尺寸920x690
轻松掌握jz7之01中继阀
图片尺寸448x252
中继阀的作用以及工作原理是什么
图片尺寸350x350
中继阀结构图cad图纸
图片尺寸507x472
挂车的继动阀为啥会被冻住,被冻住了应该怎么办?
图片尺寸500x378
具有防止双动功能的双活塞中继阀的制作方法
图片尺寸939x1000
多路预控中继阀的制作方法
图片尺寸1000x890
一种crh380系列动车组中继阀的筛查方法技术
图片尺寸1000x982
cn201721442u_继动阀失效
图片尺寸1913x1908
一种铁路货车及其中继阀制造技术
图片尺寸832x1000
中继阀和铁路货车空重车用制动系统的制作方法
图片尺寸1000x907
一种双通快放继动阀
图片尺寸894x1000
cn206254997u_一种铁路货车及其中继阀有效
图片尺寸745x1000
cn101372224a_电控感载紧急继动阀失效
图片尺寸2297x1816
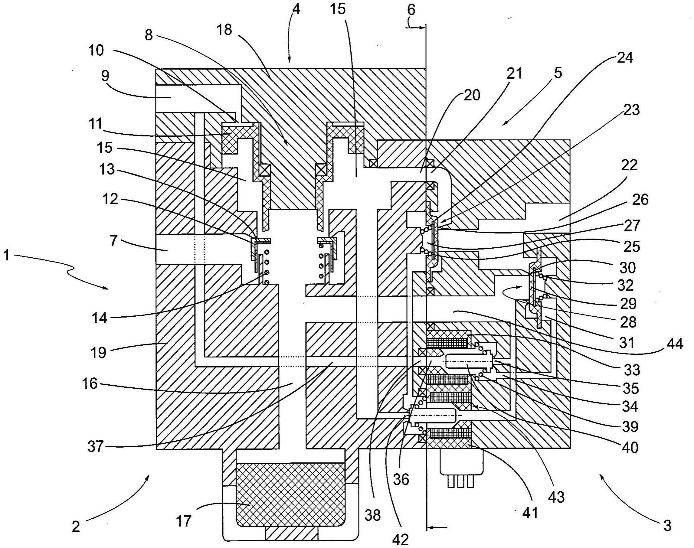
阀装置
图片尺寸2294x1812
差动式继动阀
图片尺寸1080x810
vatten双轴式中线蝶阀耐磨损密封件
图片尺寸912x769
中继阀jy290;机;jz-7 中继阀带遮断阀电加热套 硅胶 110v 60w
图片尺寸800x800
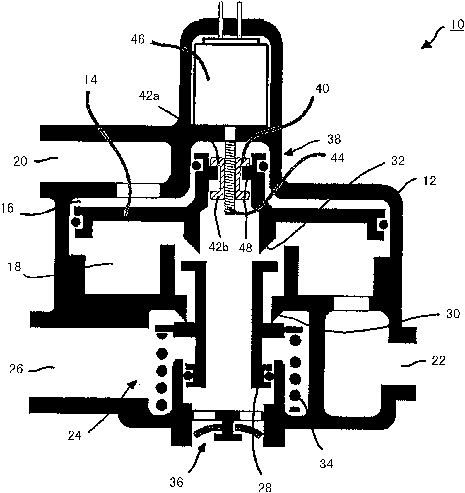
cn107835767a_继动阀和控制继动阀的方法
图片尺寸1588x1682