临泉庙岔李自林

兵团纪委副书记,监察局局长李自林解读《准则》和《条例》
图片尺寸500x333
市农宣中心主任李自林,书记周高新带领中心党员走访贫困户并送新春
图片尺寸500x332
民建支部赴大明村开展创新社会管理专题调研
图片尺寸530x795
天津城建大学_岩土工程院校
图片尺寸480x360
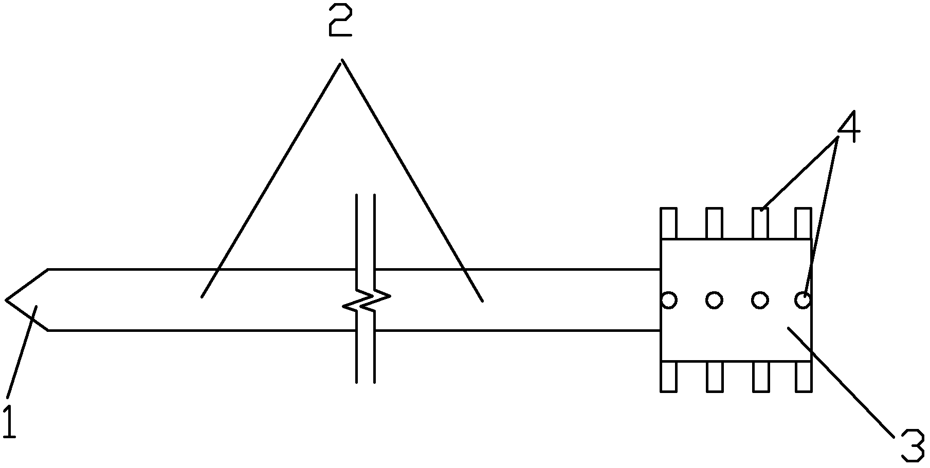
用于协调经搅拌桩与轻质泡沫土处理后地基沉降的构件
图片尺寸1809x911
东南亚天然气管道有限公司总裁李自林一行到缅甸项目检查指导工作
图片尺寸600x450
安徽省临泉县委书记邓真晓一行莅临智汇集团考察指导
图片尺寸1080x667