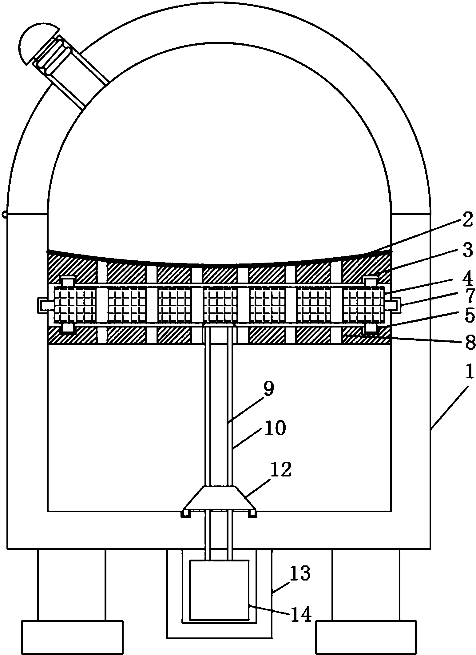
丹炉结构

了一种电加热红丹炉,包括红丹炉本体,红丹炉本体呈内部中空的柱体结构
图片尺寸1548x2128
道教中关于追求永生的方法
图片尺寸587x609
丹炉药鼎炼丹炉,青铜鼎模型带灯光材质带obj格式模型
图片尺寸400x285
《剑仙》现场直击火龙洞诞生记
图片尺寸564x554
颠覆的真相——夺天地造化的上古"炼丹术"
图片尺寸1145x587
炼丹炉当时这里炼出的丹药有不少是为皇家供应的,也
图片尺寸1080x608
香炉 铜炉 香炉 丹炉 火炉 炉鼎 炼丹炉3d模型下载
图片尺寸841x597
第二集 | 潇天被骗进丹炉,变成炼丹材料 #沙雕动画 #原创 #修仙
图片尺寸1728x1080
道教ppt
图片尺寸1080x810
采集49阿91达49采集到丹炉composeitem_000183采
图片尺寸236x376
一次偶然的荒野寻宝,发现诡异的"大丹炉" #寻宝
图片尺寸1080x1440
鬼谷八荒五宝大还丹怎么获得
图片尺寸500x391
中国风古代炼丹炉 游戏模型 低模手绘_boo10620作品
图片尺寸400x285
分享到手机端佛本是道游戏道具丹炉模型信息下载说明
图片尺寸1793x1080
外星机器人
图片尺寸500x400
一起来捉妖:火属性妖灵哪家强?(火龟丹炉篇)
图片尺寸620x1033
做的 使用了置换贴图官方提示:1,如该资源发布者无特别说明,模型结构
图片尺寸1024x768
ztl psd max 源文件官方提示:1,如该资源发布者无特别说明,模型结构
图片尺寸1024x768
简易玄丹炉来喽
图片尺寸1080x1439
手绘熔炉 炼丹炉低模 鼎 铁容器 铁锅_yangmomo作品
图片尺寸1280x960