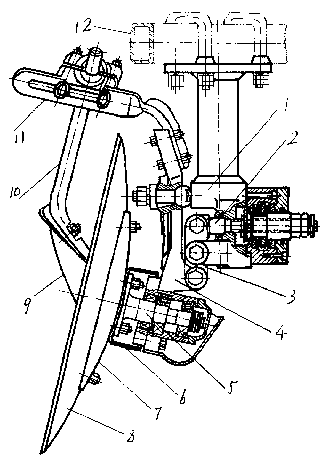
主犁体结构图

铧式犁由哪些零部件组成?
图片尺寸1157x548
铧式犁_农业百科_百问中文
图片尺寸400x380
铧式犁由哪些零部件组成?
图片尺寸575x425
犁体
图片尺寸840x509
农林牧渔 农学 农业机械知识介绍ppt 二,主要农业机械结构与工作原理
图片尺寸1080x810
cn2527071y_一种铧式犁失效
图片尺寸709x586
一种铧式犁的制作方法
图片尺寸1000x386
铧式犁构造和悬挂犁机组的使用与调整优质二类
图片尺寸920x1302
近年来铧式犁的结构特点和发展趋势
图片尺寸499x339
天津利军泰 温室大棚-设计及制作-价格实惠
图片尺寸1396x1080
我们先看它的结构 曲辕犁由11个部件构成 整体以木材为主 犁辕前端装
图片尺寸1080x771
(2)悬挂犁的构造 常见铧式悬挂犁的构造一般由犁体,犁架,悬挂装置,限
图片尺寸1080x810
曲辕犁结构图至此,铁犁的结构完成了它最大的改进,以至于现代不方便
图片尺寸1528x804
曲辕犁结构图至此,铁犁的结构完成了它最大的改进,以至于现代不方便
图片尺寸640x337
倾置式圆盘犁体
图片尺寸654x918
犁铧与犁壁组件,水田重型灭茬犁的制作方法
图片尺寸1000x845
犁壁 犁评 犁箭 犁铲 隋唐时的曲辕犁 优点何在 ?
图片尺寸1080x810
一种可调偏置式铧式犁
图片尺寸1901x1240
该系列犁具有结构简单,耕作适应范围广,作业质量好,地表平整,碎土覆盖
图片尺寸750x1145
液压翻转犁 大型栅条镜面犁 深耕反转单双向耕地犁 农用翻地铧式犁
图片尺寸750x750