主轴密封水示意图

一种混流式水轮机的主轴密封装置的制作方法
图片尺寸503x431
图15-主轴-导轴承-密封装置水轮机没有推力轴承,水轮机轴法兰与发电机
图片尺寸960x800
1号机组主轴密封密封水流量减小运行分析—一值马小亮
图片尺寸569x656
水泵水轮机主轴密封是保障抽水蓄能机组连续安全运转的关键部件之一
图片尺寸650x401
液压泵主轴密封为什么会漏油?
图片尺寸1080x810
多泥沙水轮机主轴密封的改进
图片尺寸565x400
一种工业水洗机主轴密封结构-爱企查
图片尺寸1675x2098
水泵水轮机主轴密封是保障抽水蓄能机组连续安全运转的关键部件之一
图片尺寸650x369
水泵水轮机主轴密封及烧损故障处理
图片尺寸945x591
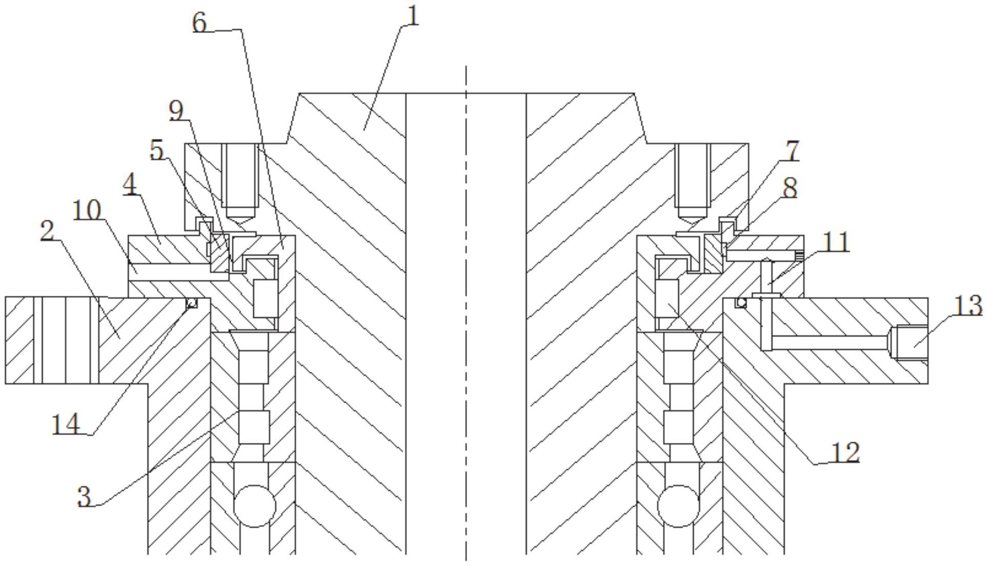
一种水轮机主轴密封结构和密封方法与流程
图片尺寸1899x1628
水泵水轮机主轴密封是保障抽水蓄能机组连续安全运转的关键部件之一
图片尺寸650x418
一种防止水轮机主轴密封漏水的装置的制作方法
图片尺寸1000x903
一种防止水轮机主轴密封漏水的装置
图片尺寸1656x1488
液压泵主轴密封为什么会漏油?
图片尺寸1080x810
一种水下推进器主轴密封结构的制作方法
图片尺寸867x1000
试析水轮机主轴密封漏水原因及改造
图片尺寸504x333
常见的水轮机主轴密封ppt
图片尺寸1080x810
液压泵主轴密封为什么会漏油?
图片尺寸1080x810
图1 主轴密封结构图选用带密封功能的高精度角接触成组轴承,轴承配置
图片尺寸420x454
一种立式机床主轴的密封结构
图片尺寸1927x1104