主轴拉刀爪怎么换图解

意大利belloditibihsk主轴拉刀爪详解
图片尺寸700x450
hsk主轴四瓣拉刀爪
图片尺寸650x780
意大利belloditibihsk主轴拉刀爪详解
图片尺寸700x450
台湾丸荣bt40拉爪acrow主轴拉刀夹爪30 50
图片尺寸851x1200
丸荣acrow主轴拉爪主轴拉刀瓣爪bt5045度bt30
图片尺寸475x722
台湾丸荣直营加工中心bt30拉爪合金拉刀四瓣爪厂家报价
图片尺寸530x282
加工中心圆盘式刀库机械手换刀时掉刀维修实例
图片尺寸640x821
加工中心bt40直联主轴
图片尺寸820x1310
2,转辙机在转换中,滚轮应在速动片上全程滚动.
图片尺寸640x854
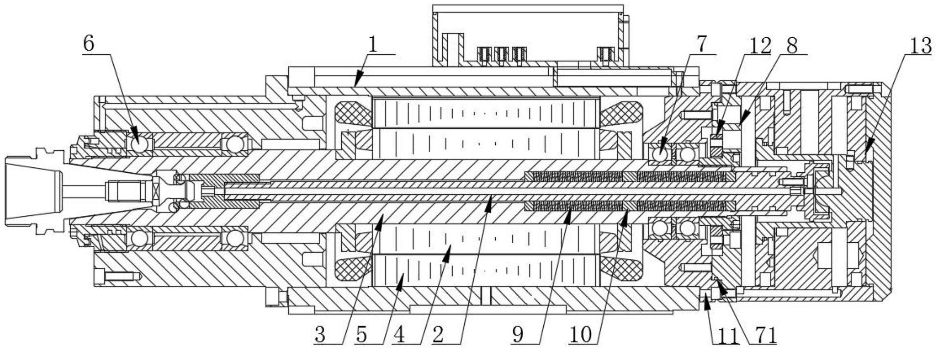
一种自动换刀刀柄内藏式电主轴的制作方法
图片尺寸321x1000
木工机械课件(刨床)
图片尺寸950x1330
专业维修日本mazak马扎克bt40 8000rpm主轴更换轴承
图片尺寸1920x1081
仁聚益主轴拉爪 四瓣拉刀爪bt30bt40bt50 拉刀爪 主轴拉爪 bt30-45度
图片尺寸800x800
日本机电床140落地镗铣.主轴140,z轴镗杆
图片尺寸1080x1439
久聚和加工中心主轴拉爪,拉刀爪,bt30/bt40/bt50外牙 台产bt50-45度外
图片尺寸800x800
丸荣加工中心主轴拉爪拉刀爪bt30/bt40/bt50外牙 丸荣acrow bt30-45度
图片尺寸1921x1920
zoto台湾 主轴拉爪bt30 bt40/50加工中心拉刀爪四瓣爪cnc数控铣床
图片尺寸800x800
拉刀爪四瓣爪主轴拉爪铨宝royal井赫bt30/40/5cpyoog 原装丸荣bt30-45
图片尺寸800x800
丸荣拉刀爪内螺纹bt3045
图片尺寸992x1403
风冷自动换刀主轴
图片尺寸1911x715