久保田线路图

2017久保田农业机械电气图纸(含客户反馈)
图片尺寸688x312
详解笔记本电脑接口电路故障诊断与排除
图片尺寸2085x1044
cn100497933c_燃料供给装置有效
图片尺寸2741x2012
避雷器下接线端
图片尺寸450x327
jvc-pcx-1000-schematic电路原理图.pdf
图片尺寸200x274
cn101397801a_反向铲的液压系统有效
图片尺寸2904x1706
显示装置和便携式信息终端
图片尺寸709x564
作业机用的传动装置以及收割机
图片尺寸688x1000
首页 专利查询 株式会社久保田专利 >正文 的准备中,或者手动脱粒
图片尺寸679x1000
久保田收割机电气接线图
图片尺寸527x395
jp2003259704(a)_riding type rice transplanter未知
图片尺寸512x700
专利详情
图片尺寸512x700
丰田中的94年凌志es300电动天线电路图
图片尺寸1200x870
us9484761(b2)_dark current cutoff device and da
图片尺寸320x281
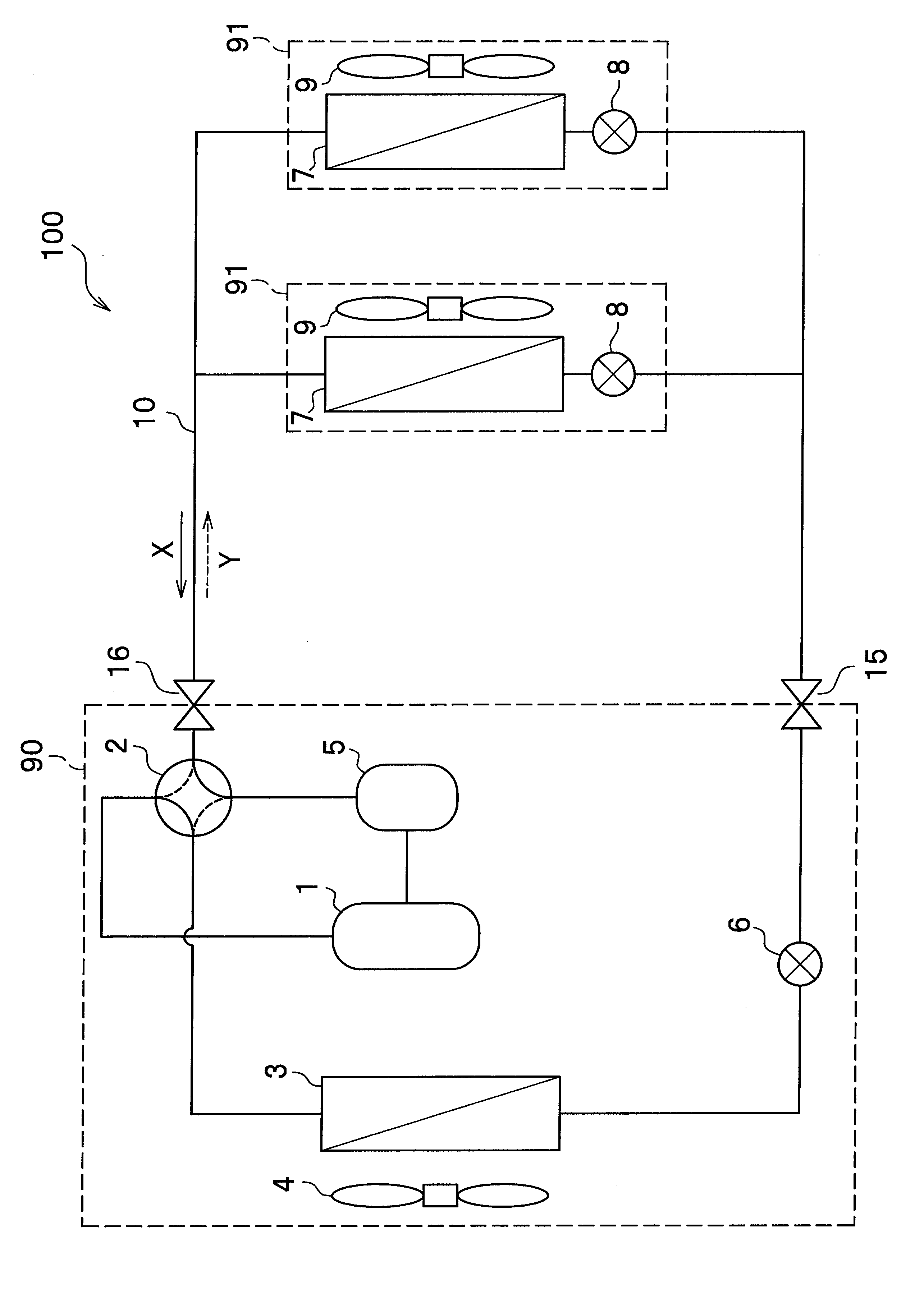
wo2016151755a1_air conditioner
图片尺寸2570x3640
cn1551475a_电源系统和空调装置失效
图片尺寸709x528
联合收割机
图片尺寸1000x662
0成交396件挖机配件批发 适用久保田 1a021-60017熄火电磁阀 久宝田长
图片尺寸750x750
2016800172698
图片尺寸1802x2516
专利详情
图片尺寸1024x848