乘法器符号

图4.1.1模拟乘法器符号 图4.1.2 模拟乘法器的工作象限
图片尺寸1080x810
乘以图标按钮乘法符号平面矢量图标取消行矢量图标一包字体可怕的集合
图片尺寸300x300
红色数学乘法
图片尺寸320x320
关键词 : 交叉,符号,数学,取消选中,乘
图片尺寸512x512![关键词 : 交叉,符号,数学,取消选中,乘[声明] 觅元素所有素材为用户](https://i.ecywang.com/upload/1/img2.baidu.com/it/u=4141962934,68049263&fm=253&fmt=auto&app=138&f=JPEG?w=500&h=500)
关键词 : 交叉,符号,数学,取消选中,乘[声明] 觅元素所有素材为用户
图片尺寸512x512
一种复数乘法器及其实现方法
图片尺寸1000x632
乘法口算ppt
图片尺寸1080x810
(十五)乘法器
图片尺寸2432x3665
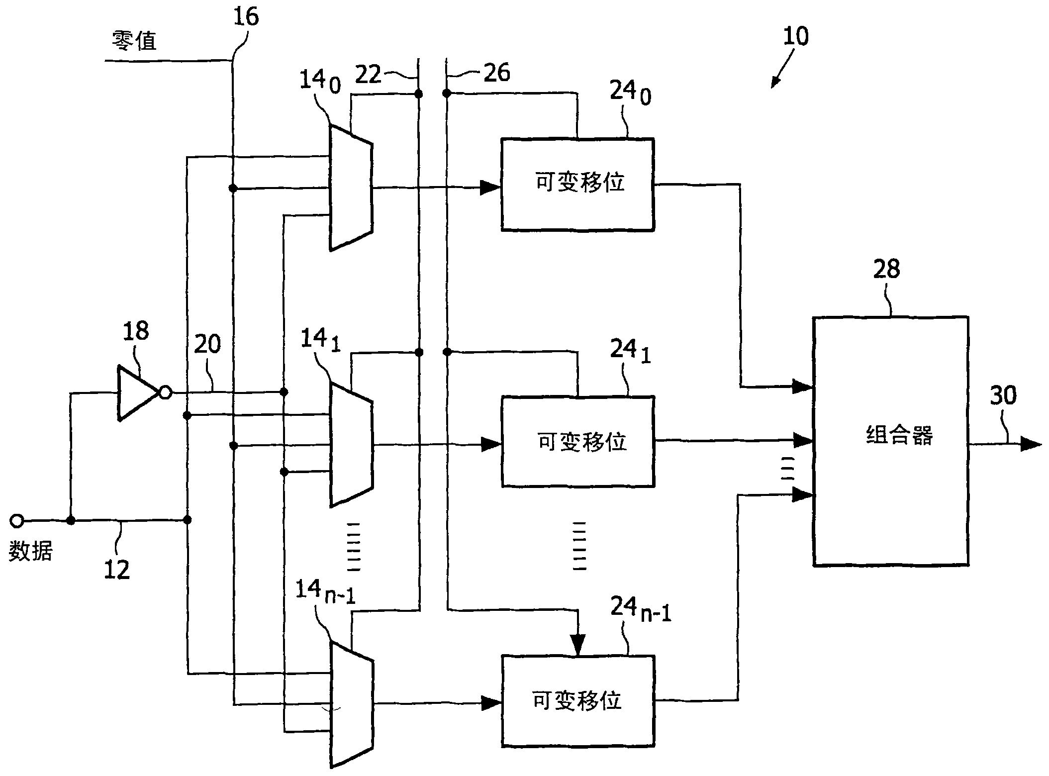
正则符号数字乘法器
图片尺寸2109x1560
乘法器
图片尺寸650x272
向量斜切矩形金属字体-乘号3d 乘号人形的乘号石 web 按钮计算器图标
图片尺寸285x300
八位"booth二位乘算法"乘法器
图片尺寸1815x807
八位二进制乘法器vhdl
图片尺寸600x388
booth乘法器(radix-4)算法实现流程详解
图片尺寸304x226
运算符号图片元素
图片尺寸300x300
乘法器
图片尺寸450x175
现在有两个带符号数a = -2和b = -3,他们在乘法器中的运算如下:a与b
图片尺寸1480x734
乘法运算符号图标
图片尺寸512x512
关闭界面按钮图标
图片尺寸512x512
线条画动画片乘法符号
图片尺寸700x700