书立的结构

钢制书架结构示意图.jpg
图片尺寸800x500
书立通常采用固定结构,由此书立的存储区容量固定不变,无法根据书籍
图片尺寸443x316
cn203762606u_一种书立失效
图片尺寸1000x759
一种便携式书立
图片尺寸655x1000
书立的制作方法
图片尺寸1000x626
一种捆绑式书立
图片尺寸1551x1423
一种加强型书立的制作方法
图片尺寸1000x999
书立的制作方法
图片尺寸656x1000
一种双列书立的制作方法
图片尺寸718x1000
一种可拆卸书立
图片尺寸730x624
便于人事工作的书立目前有多种结构样式,常见的便于人事工作的书立是
图片尺寸344x444
传统的书立太过古板,底座不稳,并且容易倾倒,书立多为一体结构,没有
图片尺寸1000x742
自由组合儿童书柜带门柜子实木松木简易置物储物书架书橱简约现代
图片尺寸750x475
一种书立的制作方法
图片尺寸1000x751
一种组合式书立的制作方法
图片尺寸518x601
一种安全书立
图片尺寸820x1084
cn201349758y_一种改进的书立失效
图片尺寸800x975
书立制造技术
图片尺寸950x1000
一种稳固书立,其结构包括由立板和横板构成的两个书立本体,其中一个
图片尺寸800x589
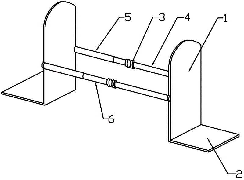
本实用新型涉及一种可拆卸书立,尤其是通过卡槽结构可将书立拆卸为两
图片尺寸512x539