乳化泵工作原理

矿用乳化液泵brw1525说明brw825乳化液泵
图片尺寸538x676
高效乳化混合机使用说明书
图片尺寸2329x1495
乳化机均质泵
图片尺寸750x520
yrlc系列吸粉式混合分散乳化机
图片尺寸666x334
乳化泵说明书
图片尺寸750x339
乳化过程如何保证产品的均一性
图片尺寸960x600
带外壳三级乳化泵
图片尺寸750x443
实验室乳化泵管线式高剪切乳化机单级乳化泵高剪切乳化泵
图片尺寸800x800
管线式乳化泵
图片尺寸609x550
恒东不锈钢管线乳化泵均质机高剪切乳化泵间歇式分散乳化泵3型
图片尺寸750x713
管线式三级乳化泵 304卫生级不锈钢混合均质剪切乳化泵 厂家直销
图片尺寸790x700
自冷却管线式不锈钢卫生级三级高剪切均质分散混合乳化机泵
图片尺寸750x497
phm 乳化泵,高剪切均质机,卧式剪切泵,超细分散机
图片尺寸728x359
乳化泵站厂家现货直供rb200.01.06-1泵头南京六合乳化液泵配件
图片尺寸790x1452
cn1857973a_乳液泵有效
图片尺寸1118x2155
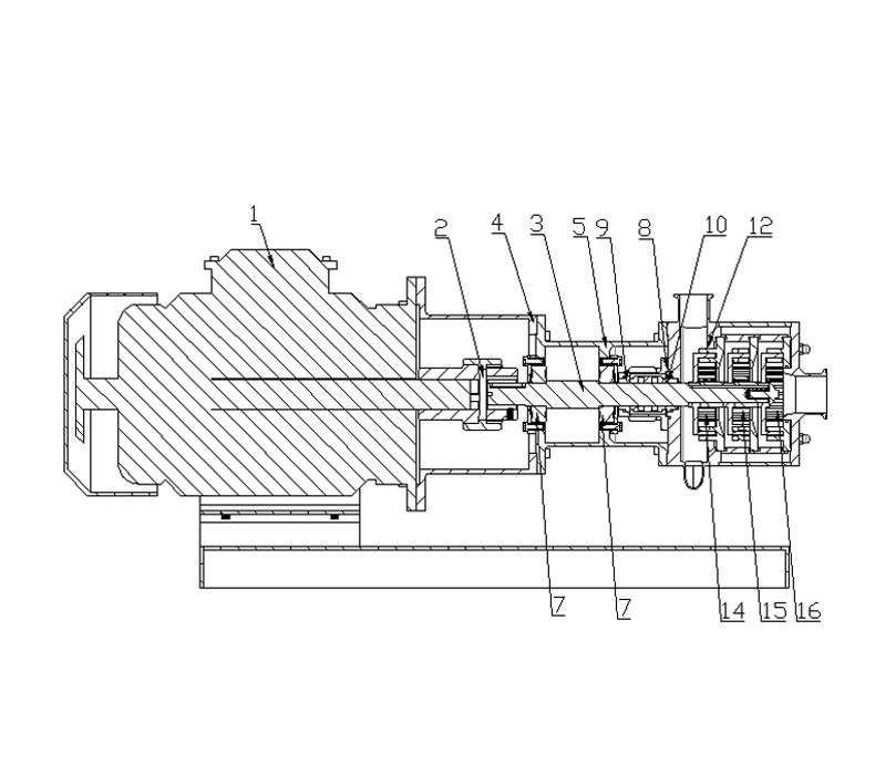
乳化泵的结构图
图片尺寸701x309
高剪切乳化泵的制作方法
图片尺寸1000x550
cn108163355a_一种防水乳液泵在审
图片尺寸1422x2511
高剪切不锈钢乳化泵 卫生级均质三级乳化泵 管线式乳化机 防爆
图片尺寸750x978
ake高速乳化机工作原理
图片尺寸716x517