二通插装阀图解

下载力士乐lclfa型二通插装阀的资料
图片尺寸366x595
德国力士乐二通插装阀的工作原理
图片尺寸755x741
z,f二通插装阀(济南铸锻所系列)
图片尺寸944x368
插装阀基本工作原理
图片尺寸920x690
力士乐二通插装阀安装示意图r900900988
图片尺寸364x442
请教一些关于二通插装阀的基本问题-(王国庆主编《二通插装阀控制技术
图片尺寸613x921
余姚市华泰液压技术研究所 二通插装阀
图片尺寸550x504
余姚市华泰液压技术研究所 二通插装阀
图片尺寸526x559
供应lc,lfa二通插装阀(力士乐系列)
图片尺寸944x546
cn201225444y_二级先导控制主控式水压二通插装阀失效
图片尺寸800x1128
dalan大兰液压二位二通锥阀型双向常闭式插装电磁阀dhf08-228s
图片尺寸790x582
插装阀原理图
图片尺寸920x1302
二通比例插装阀
图片尺寸608x1000
vickers威格士插装阀的安装及注意事项
图片尺寸400x223
二通插装阀
图片尺寸595x565
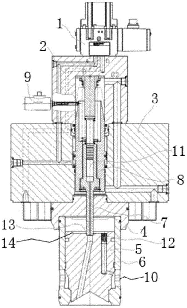
二通比例插装阀的制作方法
图片尺寸610x1000
二通插装阀发展与结构特性综述_第3页
图片尺寸920x1302
二通插装阀插件山东泰丰液压股份有限公司现货供应厂家批发供应商
图片尺寸940x781
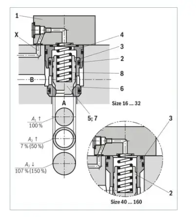
二通方向控制功能插装阀lc/lfa - 知乎
图片尺寸402x445
新闻:z4a-hb40z4,二通插装阀,哪家专业,贺州
图片尺寸308x383