云梯结构图解

一种便于收纳的消防云梯的制作方法
图片尺寸988x1000
登高云梯消防车的整体结构
图片尺寸445x372
了解云梯车的结构(轮子,车底板,主梯,副梯)和作用 2.
图片尺寸2667x2000
一种滑道式消防云梯的制作方法
图片尺寸1000x730
32米云梯车自动卸料云梯车多功能云梯搬家车出售厂家
图片尺寸750x750
一种消防车伸缩云梯的制作方法
图片尺寸1000x675
云梯消防车ppt 消防云梯消防车 第二节 云梯消防车 一,云梯车结构与
图片尺寸1080x810
cn2780254y_消防云梯车失效
图片尺寸800x1125
一种建筑工程施工用一体化云梯的制作方法
图片尺寸954x1000
图解揭秘云梯消防车
图片尺寸640x299
梯子 第1部分:术语,型式和功能尺寸
图片尺寸600x572
一种火灾自救用云梯的制作方法
图片尺寸571x439
一种用于云梯的辅助梯云梯装置和消防车的制作方法
图片尺寸806x1000
正品凯迪威1:50全合金玩具消防车系列之云梯消防车 开窗盒
图片尺寸750x438
一种云梯消防车制造技术
图片尺寸1000x634
一种云梯消防车
图片尺寸1872x1192
进口梯臂云梯车服务为先「环亚」
图片尺寸750x1128
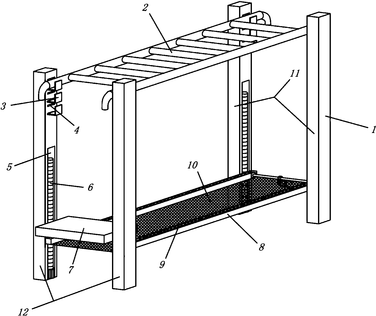
一种安全性高的健身云梯
图片尺寸1524x1281
>正文 【技术实现步骤摘要】 本技术涉及一种云梯,应用力学结构和
图片尺寸632x1000
一种钢结构伸缩云梯制造技术
图片尺寸1000x520