五开道岔

比亚迪百万辆新能源车下线前我走进了它的技术鱼池
图片尺寸720x402
进站和出站两端都设有云巴道岔,云巴通过这种设计来实现单线双向运营.
图片尺寸800x726
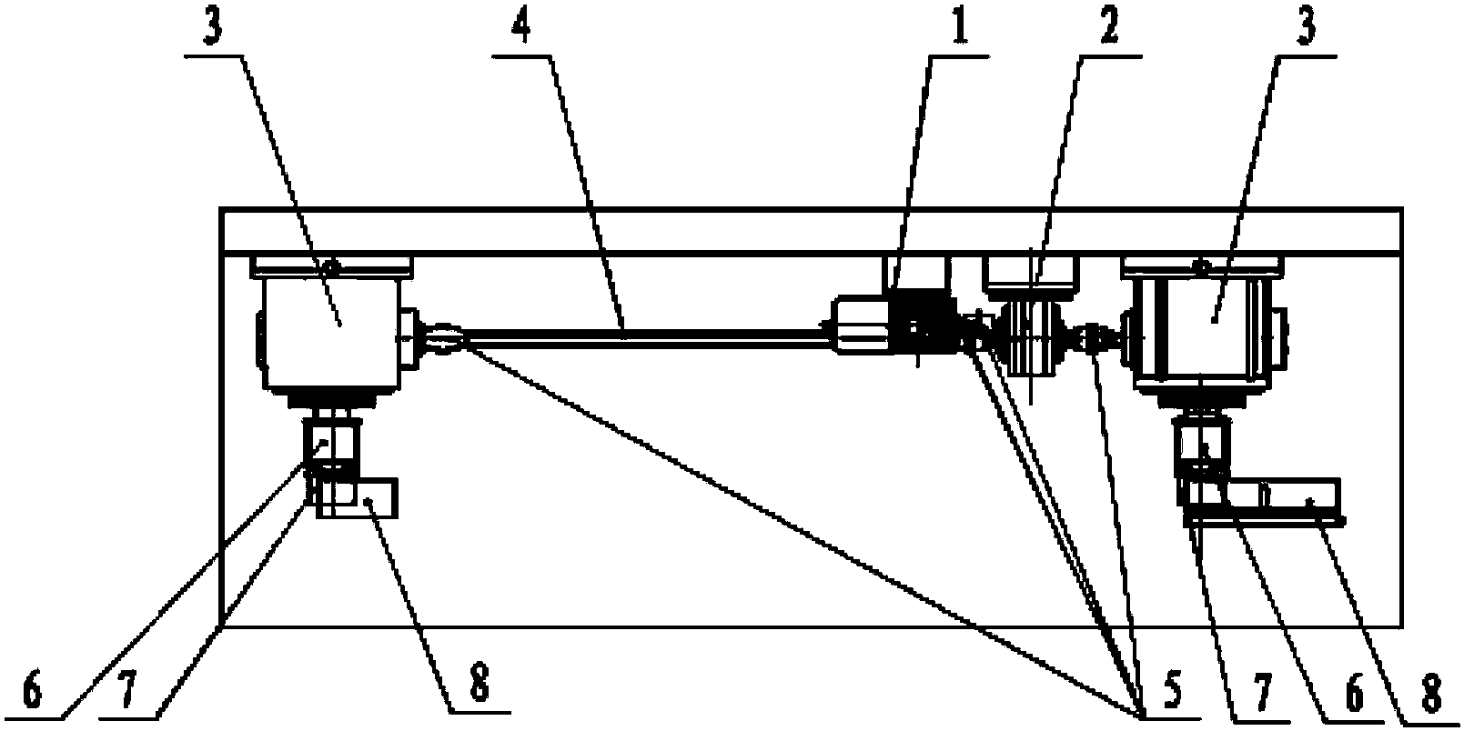
cn106467121a_跨座式单轨交通关节型五开道岔失效
图片尺寸1609x804
梦幻西游低端五开必刷副本,收益高且门槛低,打金必做
图片尺寸1280x856
梦幻西游:175级五开阵容最优化的组合讲解,定位决定了高度
图片尺寸1238x932
铁路轮渡五开道岔钢轨转辙器施工技术
图片尺寸1408x2002
中铁宝桥:托起绿色交通 中国城轨交通的领跑者(组图)
图片尺寸640x360
五开必做神器任务难度及技巧总结
图片尺寸683x604
看完梦幻五开赚钱表格后头皮都发麻了 越来越多人选择脱坑不搬砖了
图片尺寸639x1136
西门子同款浴霸开关奥普浴霸开关四开五开5五合一专用卫生间风暖智能
图片尺寸790x1233
梦幻西游:五开玩家遍地都是,这些奇葩的名字怎么想出来的
图片尺寸1000x743
梦幻西游五开玩家必备的几个技巧省钱又省事还能提高效率
图片尺寸960x770
清代李怡兴名家款的五开机关铜锁(已定苏州朋友)
图片尺寸800x550
开关类 一开双控 二开 三开 四开 五开 六开
图片尺寸700x700
大话西游2五开玩家陷入迷茫每日清完副本何去何从
图片尺寸352x442
梦幻西游鬼才玩家赚钱有套路花380元就能打造一组109级效率五开
图片尺寸800x552
pc梁铸钢支座,关节型单开道岔,关节型三开/五开道岔,关节可挠
图片尺寸1014x650
五开浴霸开关怎么接
图片尺寸592x1052
浴霸五开开关16a大电流一体化内置式免接线五联精品上滑滑盖
图片尺寸750x562
梦幻西游:五开阵容究竟如何搭配,等级停留在哪个阶段收益最好
图片尺寸574x370