井式炉结构图

井式电阻炉结构图
图片尺寸585x418
井式炉
图片尺寸768x772
井式气体渗碳炉结构原理
图片尺寸493x503
井式电阻加热炉的构造和用途
图片尺寸358x503
一种蒸汽氧化井式炉
图片尺寸800x1200
rq3型井式气体渗碳炉结构示意图
图片尺寸350x310
井式气体渗碳炉 热处理炉井式炉
图片尺寸550x481
一种绿色节能型井式气体氮化炉的制作方法
图片尺寸553x702
一种井式氮化炉-爱企查
图片尺寸1437x999
一种井式炉具有升降功能的底盘安装结构的制作方法
图片尺寸443x432
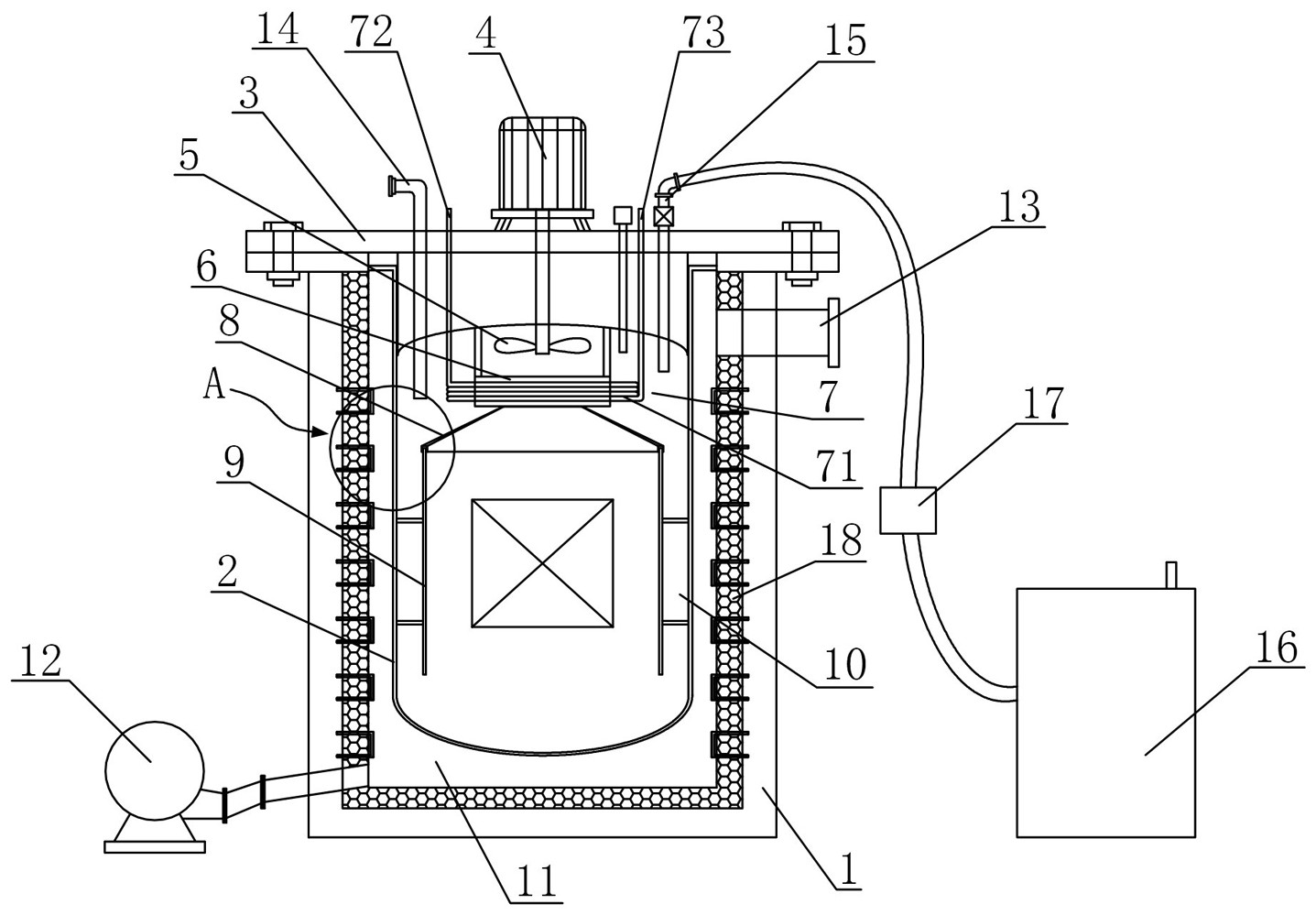
一种带废气净化的井式炉制造技术
图片尺寸1000x882
cn202109745u_一种井式炉失效
图片尺寸800x993
江苏电炉 台车炉 井式炉 箱式炉
图片尺寸344x417
热处理时大多用到井式炉,井式炉的结构是:炉身是圆筒形的深井,铁丝由
图片尺寸1000x961
一种带有废气处理机构的井式渗碳炉的制作方法
图片尺寸1000x932
井式气渗碳炉
图片尺寸612x654
蒸汽处理井式炉的制作方法
图片尺寸760x1000
井式炉的结构和维护方法
图片尺寸942x702
cn201228281y_具有管状加热系统的大型井式炉有效
图片尺寸2098x1817
90kw井式渗碳炉总装图
图片尺寸600x439