井式电阻炉装配图

井式电阻加热炉的构造和用途
图片尺寸358x503
rj3609全纤维井式电阻炉带罐
图片尺寸485x656
全国通用型井式电阻炉 圆柱型正火退火淬火热处理炉
图片尺寸514x638
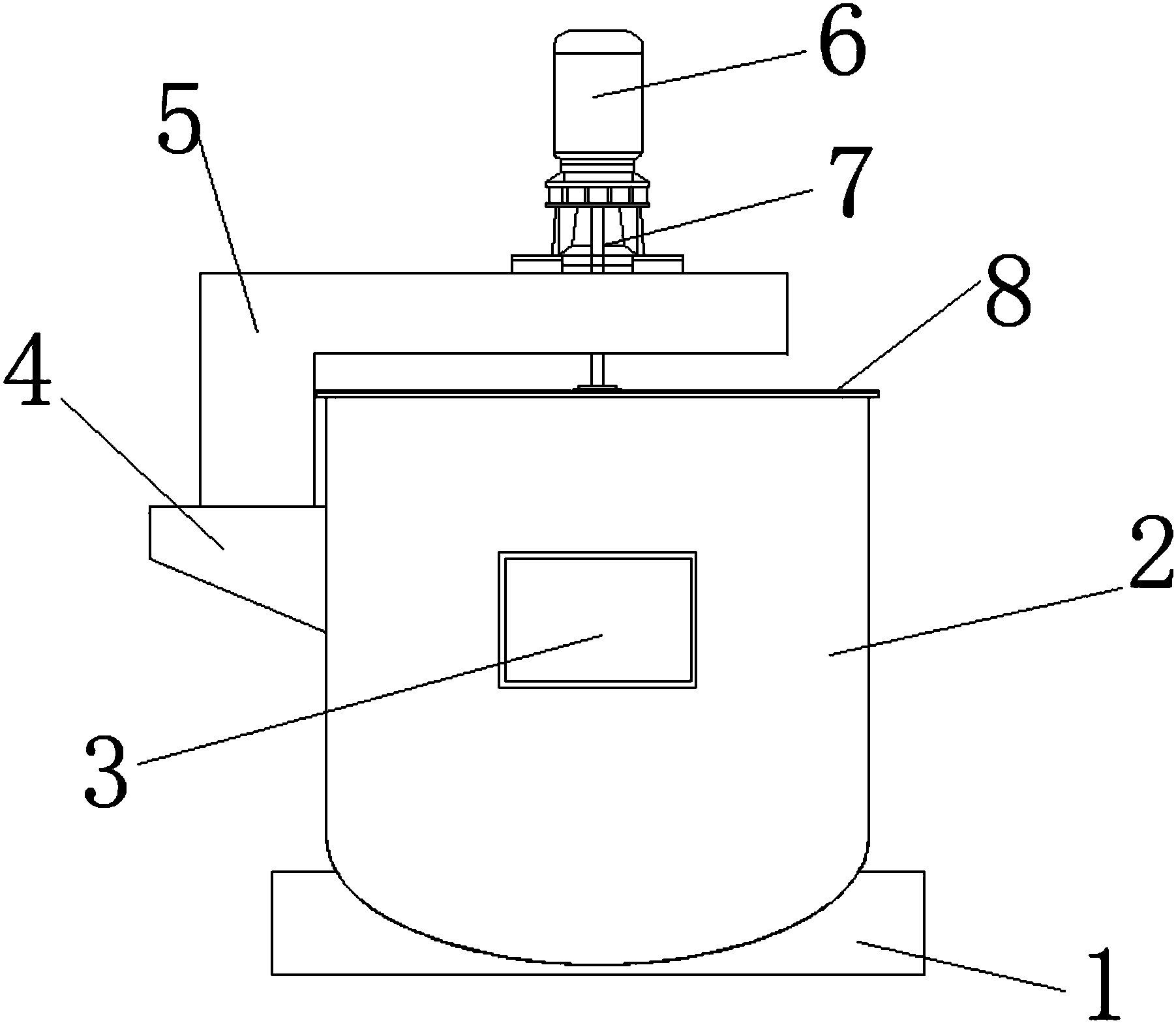
一种井式电阻热处理炉
图片尺寸1546x1546
井式电阻炉及其模块化电阻加热器的制作方法
图片尺寸333x443
cn204461033u_一种井式电阻炉失效
图片尺寸1000x895
一种井式电阻炉制造技术
图片尺寸1000x942
cn109099702a_一种避免外壁超温的井式电阻炉在审
图片尺寸1803x1569
一种新型上开门箱电阻炉制造技术,箱式电阻炉专利_技高网
图片尺寸802x1000
高温箱式电阻炉 设计
图片尺寸510x679
井式气渗碳炉
图片尺寸612x654
90kw井式渗碳炉总装图
图片尺寸600x439
我公司是生产系列煤气发生炉,标准或非标准型工业电阻炉等 热处理设备
图片尺寸350x359
箱式电阻炉结构图
图片尺寸500x298
井式氮化炉井式气体快速氮化炉
图片尺寸431x600
高温箱式电阻炉cad图纸dwg图纸
图片尺寸1032x738
电与燃气复合型箱式电阻炉制造技术
图片尺寸746x1000
一种井式电阻炉.除用作气体渗碳外,还可进行氮化,氰化等化学热处理.
图片尺寸411x674
sx216系列1600度箱式电阻炉说明书
图片尺寸522x311
江苏电炉 台车炉 井式炉 箱式炉
图片尺寸499x378