亚克力板安装节点

透光板亚克力板的施工工艺
图片尺寸451x363
一种用于水族馆的透明亚克力板安装结构的制作方法
图片尺寸334x443
室内设计三种亚克力天花吊顶节点大样图分享 #室内设计#0202#施工
图片尺寸960x1280
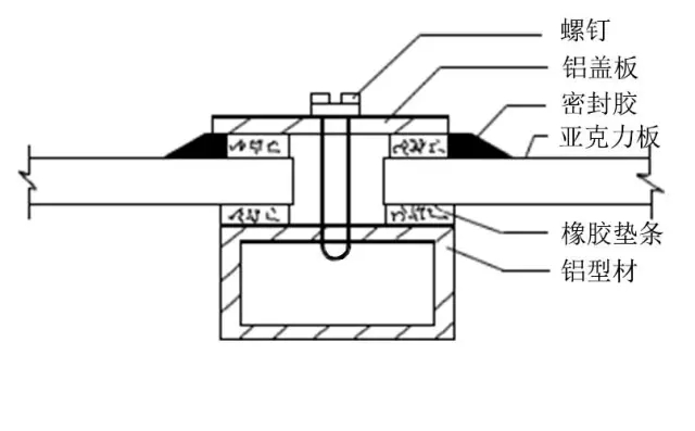
亚克力吊顶节点图
图片尺寸808x586
亚克力砖墙节点大样门廊的横向线条与竖向的墙面与建筑立面材料摆黑
图片尺寸840x773
亚克力板透光天花吊顶施工工法附图
图片尺寸800x1132
一种亚克力板安装结构的制作方法
图片尺寸353x371
亚克力板安装节点亚克力灯箱亚克力操场铺设价格区间price80-400元
图片尺寸640x397
上海美臣亚克力导光板
图片尺寸1294x1042
现代亚克力吊顶天花节点图施工图下载
图片尺寸1600x1311![亚克力板固定节点设计cad施工图[原创]](https://i.ecywang.com/upload/1/img2.baidu.com/it/u=1473424563,1539777750&fm=253&fmt=auto&app=120&f=JPEG?w=499&h=386)
亚克力板固定节点设计cad施工图[原创]
图片尺寸700x541
新展厅悬浮发光亚克力层板完美落地.
图片尺寸1440x1454
例如厨房的橱窗,通常可以用亚克力板制作,橱窗需要通过安装件安装在
图片尺寸598x423
现代亚克力吊顶天花节点图施工图下载
图片尺寸1648x1165
今顶美妆墙板丨环保快装十年如新
图片尺寸1500x750
cn103422593b_亚克力板幕墙的连接结构及其连接方法有效
图片尺寸1000x990
一种便于更换亚克力板的吊顶照明结构的制作方法
图片尺寸1000x988
亚克力板墙的制作方法
图片尺寸1000x759
钢丝悬挂亚克力板拼接系统技术方案
图片尺寸1000x723
【塑料系列】亚克力(pmma)
图片尺寸500x457