人行天桥的结构

人行天桥结构计算书
图片尺寸691x482![[分享]钢结构人行天桥渲染资料下载](https://i.ecywang.com/upload/1/img1.baidu.com/it/u=196262465,3201960452&fm=253&fmt=auto&app=138&f=JPEG?w=500&h=375)
[分享]钢结构人行天桥渲染资料下载
图片尺寸560x420
钢桁架结构商业街人行天桥结构图
图片尺寸560x420
钢结构人行过街天桥结构施工cad图,含设计说明
图片尺寸610x432
人行天桥主梁结构 查看详情>> 立即下载 南北地下车库连
图片尺寸618x442
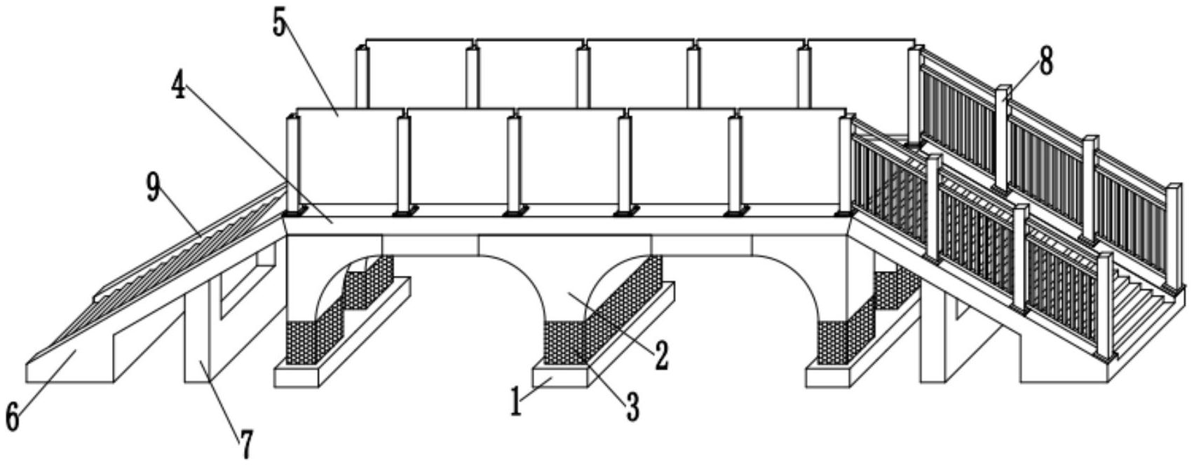
一种跨街人行天桥的制作方法
图片尺寸1000x468
人行天桥主梁结构
图片尺寸760x323
某钢框架钢制人行天桥结构cad施工图
图片尺寸564x404
钢结构人行天桥结构施工图
图片尺寸610x431
背景技术:目前,钢结构天桥成为人行天桥的主要类型,但是钢结构天桥
图片尺寸1000x659
某地钢结构垮街人行天桥结构施工图纸
图片尺寸610x432
钢结构人行天桥设计图纸
图片尺寸287x259
某钢框架钢制人行天桥结构设计图
图片尺寸610x432
某地k252145人行天桥结构施工图
图片尺寸610x432
钢结构人行过街天桥制作加工,吊装拼接及交通疏导专项方案(专家论证
图片尺寸1353x657
二环线某钢结构人行天桥设计及结构验算含cad图
图片尺寸1861x967
钢结构人行天桥
图片尺寸870x410
某钢框架钢制人行天桥结构cad施工图
图片尺寸566x406
某经典实用的人行天桥构结构设计图
图片尺寸610x407
一种高抗震高稳定人行天桥支撑结构-爱企查
图片尺寸1703x667