任意停铰链原理

萨郦奇铰链液压铰链不锈钢304阻尼缓冲柜门飞机合页大橱柜五金配件
图片尺寸800x1011
普通二段力铰链二孔脚普通铰链供应出口铰链普通铰链厂家
图片尺寸791x335
合页不锈钢扭矩可调铰链阻尼随意停任意定位铰链
图片尺寸742x471
隐藏式门轴铰链 弹簧插销暗铰链cl225-1-2-3大中小实惠机箱铰链
图片尺寸600x464
不锈钢304可调阻尼铰链 扭矩合页 大阻尼铰链 随意停铰链 定位
图片尺寸748x584
旭坤五金随意停铰链扭矩任意停阻尼合页迷你小型定位阻力门铰扭矩 506
图片尺寸800x800
cn101273179a_家具铰链有效
图片尺寸1617x1891
lamp蓝普hg-its35任意停定位扭矩铰链随意停阻尼合页180度五金件
图片尺寸883x884
叽哩哇啦304不锈钢随意停扭矩活页任意停阻尼定位式工具箱铰链 304
图片尺寸800x809
不锈钢合页扭矩力随任意停阻尼可调节止动铰链可定位折页缓冲活页 银
图片尺寸760x785
圆盘转轴360度活动阻尼旋转轴通孔可过线阻尼扭矩可调合页随意停
图片尺寸800x800
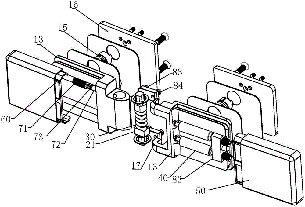
一种家具用缓冲铰链
图片尺寸1000x798
一种新型液压缓冲的自动闭门合页
图片尺寸1000x845
奔新农(benxinnong)不锈钢合页 任意停扭矩 阻尼铰链 可定位缓冲合页
图片尺寸800x800
梳妆台随意d停合页缓冲下翻盖板任意停化妆台镜子隐藏铰链五金配
图片尺寸800x800
圆盘阻尼转轴圆形扭矩铰链可调节扭力任意随意停合页关节支臂配件
图片尺寸800x800
360度任意随意停圆盘阻尼转轴圆形扭矩铰链过线孔6mm扭力小合页
图片尺寸800x800
恒梳妆台上翻隐藏合页下翻阻尼缓冲柜门任意停五金配件翻镜液压铰链
图片尺寸800x800
一字阻尼转轴任意停随意停定位轴铰链仪器笔记本一字轴阻尼器 419005
图片尺寸800x800
cn208363893u_一种缓冲自动关门铰链组件有效
图片尺寸1000x681