传动装置 装配图

a1 链式输送机传动装置装配图.pdf
图片尺寸800x566
(c6140)型数控机床纵向进给传动机构装配图0.zip
图片尺寸2338x1653
带式输送机传动装置设计【圆锥-圆柱齿轮传动减速器】_装配图网
图片尺寸1200x800
a0-带传动装置装配图.dwg
图片尺寸1200x800
带式运输机传动装置设计减速器设计.减速器计算说明书cad装配 - 抖音
图片尺寸1230x825
绞车传动装置设计
图片尺寸1200x800
a1齿轮传动变速装置装配图pdf
图片尺寸800x566
a1螺旋输送机设计传动装置.pdf
图片尺寸800x566
如图1-1所示,传动系的基本组成包括:离合器,变速器,万向传动装置(万向
图片尺寸1391x758
我想请问一下那个带式输送机传动装置(单级圆柱齿轮减速器)的装配图
图片尺寸995x580
带式输送机传动装置总装配图dwg
图片尺寸800x500
一用于带式运输机传动装置中的同轴式二级圆柱齿轮减速器设计【t=850n
图片尺寸1200x800
电动快递车动力传动系统设计
图片尺寸2338x1653
a1加热炉装料机传动装置装配图pdf
图片尺寸800x566
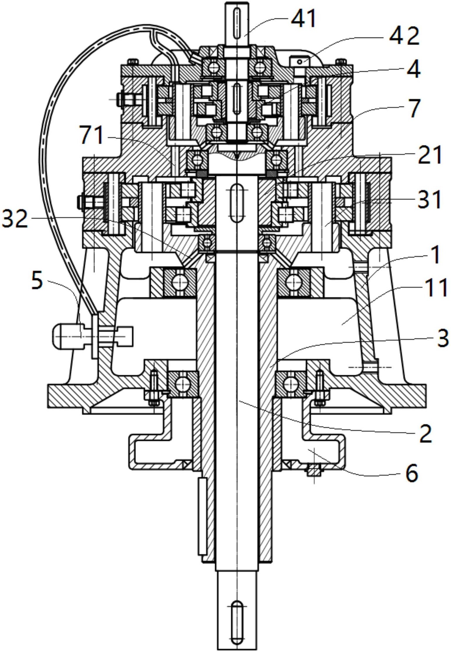
种双速搅拌传动装置,它包括外壳,竖直向可旋转装配在外壳内的输出内轴
图片尺寸1538x2220
单级蜗杆减速器设计用于带式运输机的传动装置f4000nv16msd400mm含3张
图片尺寸2338x1653
传动装置装配图-a1
图片尺寸830x654
cn1273321c_前置穿心轴差速传动装置失效
图片尺寸2236x2079
传动系统装配图.dwg
图片尺寸1200x800
传动组装配图 a1.dwg
图片尺寸1200x800