传真机原理图

传真机的工作原理
图片尺寸921x985
>传真机电路原理图
图片尺寸1672x1181
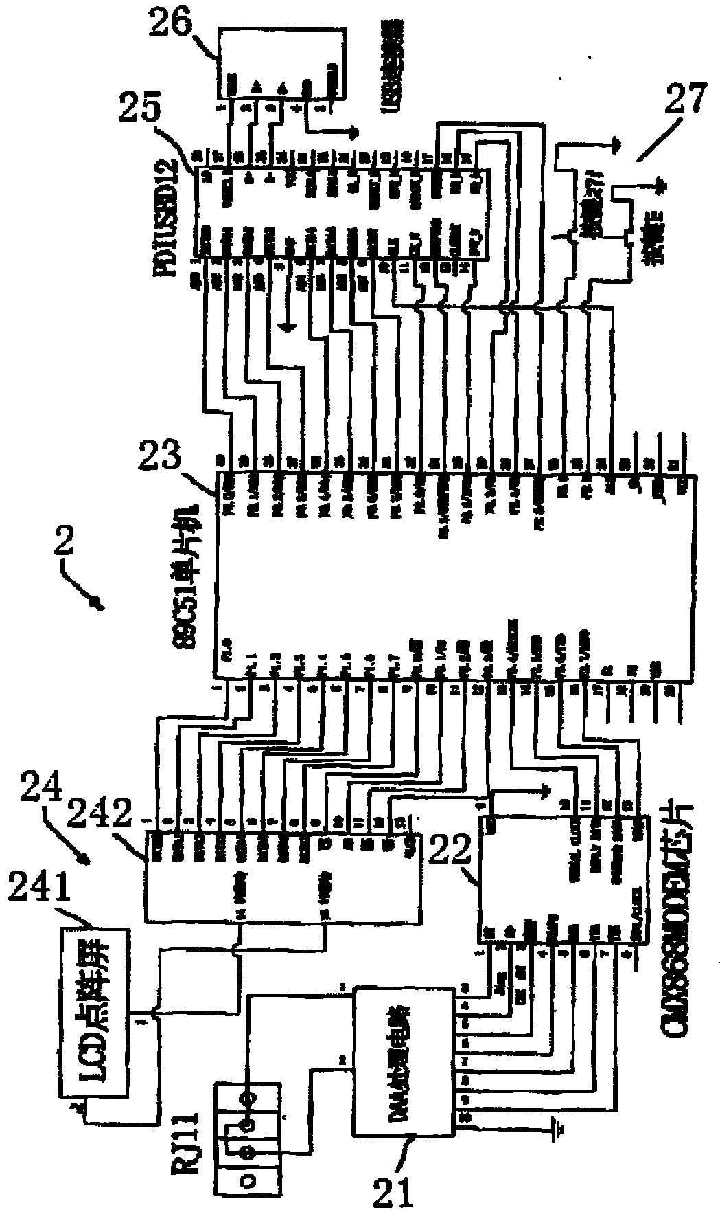
传真机电路图1
图片尺寸1754x1239
传真机
图片尺寸2560x1728
佳能fax-450型传真机的电源电路图及原理解析
图片尺寸1000x1698
传真机扫描方式的工作原理
图片尺寸988x673
传真机电路图1
图片尺寸1754x1239
传真机电路图2
图片尺寸1754x1239
松下(panasonic)kx-f50b型传真机,接通电源开机后,传真机不能进入工作
图片尺寸2468x2063
彩色传真机
图片尺寸366x140
传真机的基本结构和维护方法
图片尺寸500x407
传真机佳能fax-450传真机电源电路图原理解析佳能fax-450 型传真机的
图片尺寸1224x832
cn1162231a_传真机失效
图片尺寸2000x1451
cn2904498y_数码传真机失效
图片尺寸1803x2003
一种传真机文件智能识别装置-爱企查
图片尺寸1049x1764
彩色传真机
图片尺寸286x203
一种安全型传真机系统技术方案
图片尺寸1000x409
传真机的结构图
图片尺寸570x446
cn1756287a_传真系统有效
图片尺寸1417x914
3.传真机开关电源电路的结构及其工作原理
图片尺寸1803x1351